Запчасти Case CX210B (09-25) - AIR CONDITIONING - CONDENSER AND RECEIVER-DRIER (09) - CHASSIS/ATTACHMENTS

Схема запчастей Case CX210B - (09-25) - AIR CONDITIONING - CONDENSER AND RECEIVER-DRIER (09) - CHASSIS/ATTACHMENTS
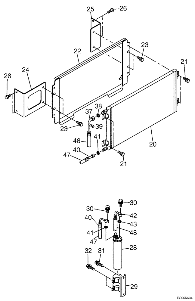
29
43
39
41
26
47
20
30
38
24
32
41
21
23
30
25
37
47
26
48
23
22
40
31
28
21
40
42
46
FIT
1:1
100%

Артикул

Название

Примечание

Количество

CONDENSER

1шт.

20

KHR13070

CONDENSER

1шт.

21

166350A1

BOLT

4шт.

22

KRR11861

SUPPORT

1шт.

23

166052A1

BOLT

4шт.

24

KRR11870

SUPPORT

1шт.

25

KRR11880

SUPPORT

1шт.

26

166351A1

BOLT,Sems, M10 x 20mm

4шт.

EVAPORATOR

1шт.

28

KHR13590

RECEIVER-DRYER

1шт.

29

KHR13600

BRACKET

1шт.

30

162043A1

BOLT,Spcl, M6

2шт.

31

167518A1

BOLT

2шт.

32

159602A1

BOLT,Sems, Hex, M6 x 16mm

2шт.

37

KHR14950

HOSE

Incl. 38, 39

1шт.

38

169053A1

O-RING

2шт.

39

KHR3053

CAP

1шт.

40

KHR14960

HOSE

Incl. 41

1шт.

41

169054A1

O-RING

2шт.

42

KHR14970

HOSE

Incl. 43

1шт.

43

169054A1

O-RING

2шт.

47

150773A1

PLASTIC-RUBBER TUBE

1шт.

Выбрано товаров: 0