Запчасти Case CX210B (09-59) - ARM (2.94 M) - OPTIONAL (09) - CHASSIS/ATTACHMENTS

Схема запчастей Case CX210B - (09-59) - ARM (2.94 M) - OPTIONAL (09) - CHASSIS/ATTACHMENTS
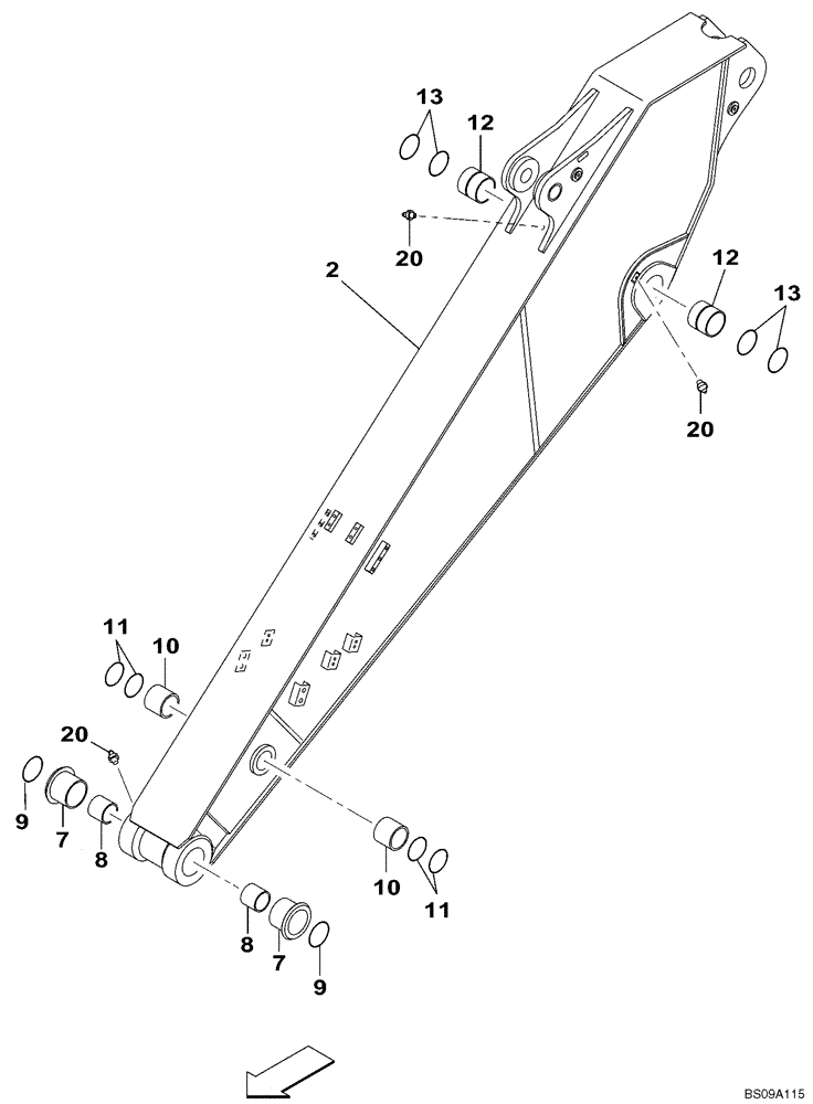
13
7
13
10
10
20
20
9
20
9
12
8
12
11
2
8
7
11
FIT
1:1
100%

Артикул

Название

Примечание

Количество

1

KRV23622

DIPPER

Long 2.94M, Include(s) 2, 7 - 13, Replaces KRV23620, KRV23621

1шт.

2

NSS

NOT SOLD SEPARAT

1шт.

7

KRV2408

BUSHING

2шт.

8

KRV10910

BUSHING

2шт.

9

159647A1

SEAL,80mm ID x 95mm OD x 5mm Thk

2шт.

10

KRV2396

BUSHING,75mm ID x 90mm OD x 60mm L

2шт.

11

160400A1

SEAL,75mm ID x 90mm OD x 5mm Thk

4шт.

12

KRV2397

SELF LUB RING

2шт.

13

159648A1

SEAL,90mm ID x 105mm OD x 5mm Thk

4шт.

20

153630A1

LUBE NIPPLE

3шт.

Выбрано товаров: 10