Запчасти Case CX210B (02-19) - FRONT TIMING GEAR COVER (02) - ENGINE

Схема запчастей Case CX210B - (02-19) - FRONT TIMING GEAR COVER (02) - ENGINE
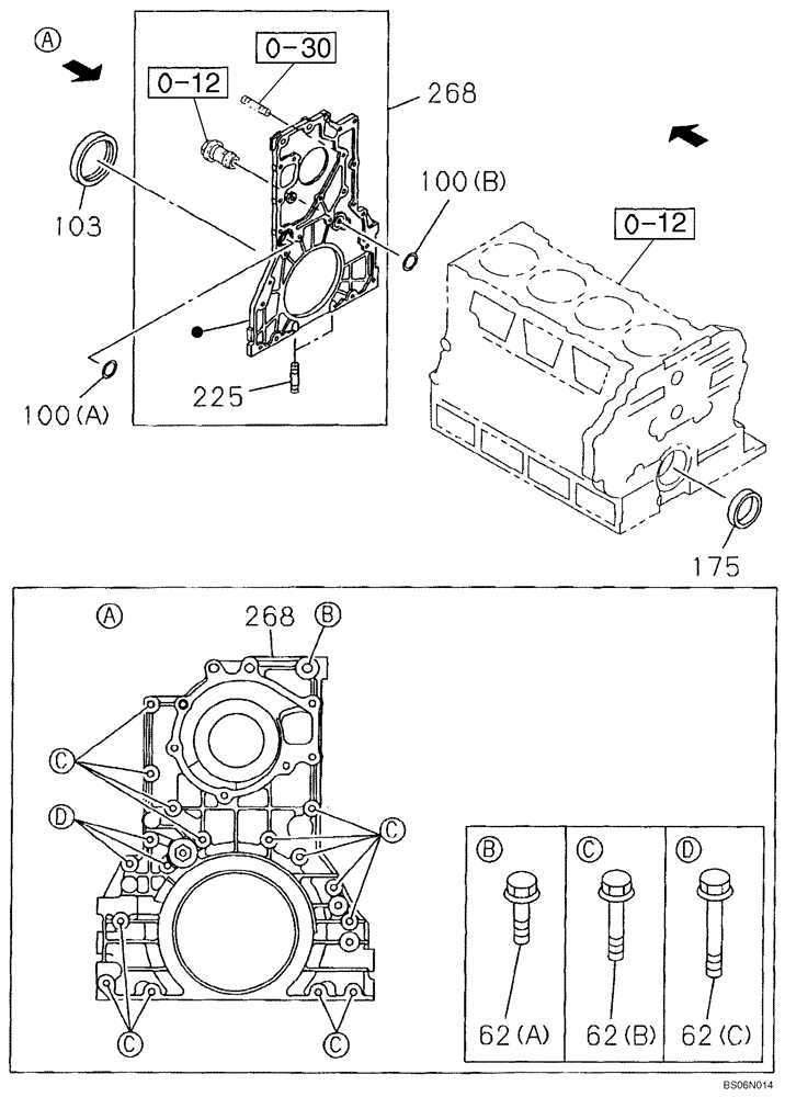
0-30
62a
268
62c
268
62b
100b
0-12
225
100a
0-12
175
103
FIT
1:1
100%

Артикул

Название

Примечание

Количество

0-12

REF

INSTRUCTION

See Figure 02-13

1шт.

0-30

REF

INSTRUCTION

See Figure 02-24

1шт.

62a

87596004

BOLT

1шт.

62b

87595258

BOLT

14шт.

63c

87595261

BOLT

3шт.

100a

438160A1

GASKET

1шт.

100b

87596009

GASKET

1шт.

103

87596010

SEAL

1шт.

175

87336448

SEAL

1шт.

225

87596030

STUD

2шт.

268

87596036

COVER

Incl. 225

1шт.

Выбрано товаров: 11