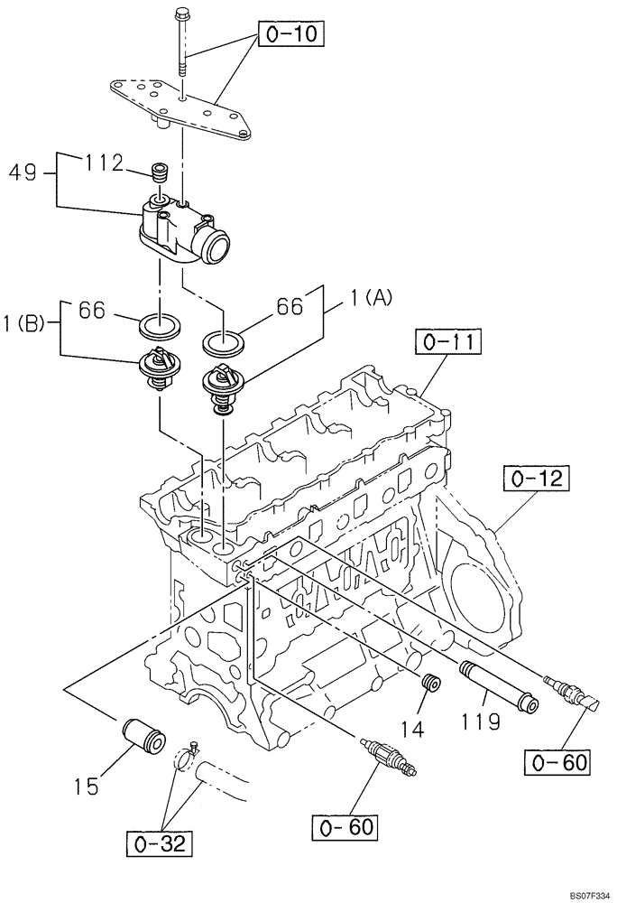
Запчасти Case CX210B (02-25) - ENGINE WATER CIRCUIT - THERMOSTAT (02) - ENGINE

Схема запчастей Case CX210B - (02-25) - ENGINE WATER CIRCUIT - THERMOSTAT (02) - ENGINE
0-32
119
0-11
112
0-60
66
14
15
1b
49
0-10
1a
66
0-12
0-60
FIT
1:1
100%

Артикул

Название

Примечание

Количество

0-10

REF

INSTRUCTION

See Figure 02-34

1шт.

0-11

REF

INSTRUCTION

See Figure 02-11

1шт.

0-12

REF

INSTRUCTION

See Figure 02-13

1шт.

0-32

REF

INSTRUCTION

See Figure 02-26

1шт.

0-60

REF

INSTRUCTION

See Figure 04-01

1шт.

1a

87596469

THERMOSTAT

Incl. 66

1шт.

1b

87596477

THERMOSTAT

Incl. 66

1шт.

14

289415A1

PLUG

1шт.

15

87596482

PIPE

1шт.

49

87378562

PIPE

Incl. 112

1шт.

66

87378564

GASKET

2шт.

112

87379740

PLUG

1шт.

119

76591841

PIPE

1шт.

Выбрано товаров: 13