Качественные детали и логистика
Оригинальные и аналоговые запчасти с доставкой по России, Казахстану и Беларуси
©2022 PartSell ООО "Система" ИНН 2463123282 ОГРН 1212400004838
Центральный офис: г. Красноярск, Академика Киренского, д.87, пом.4
Телефон: 8 (800) 777-65-74 Email: zakaz@partsell.ru
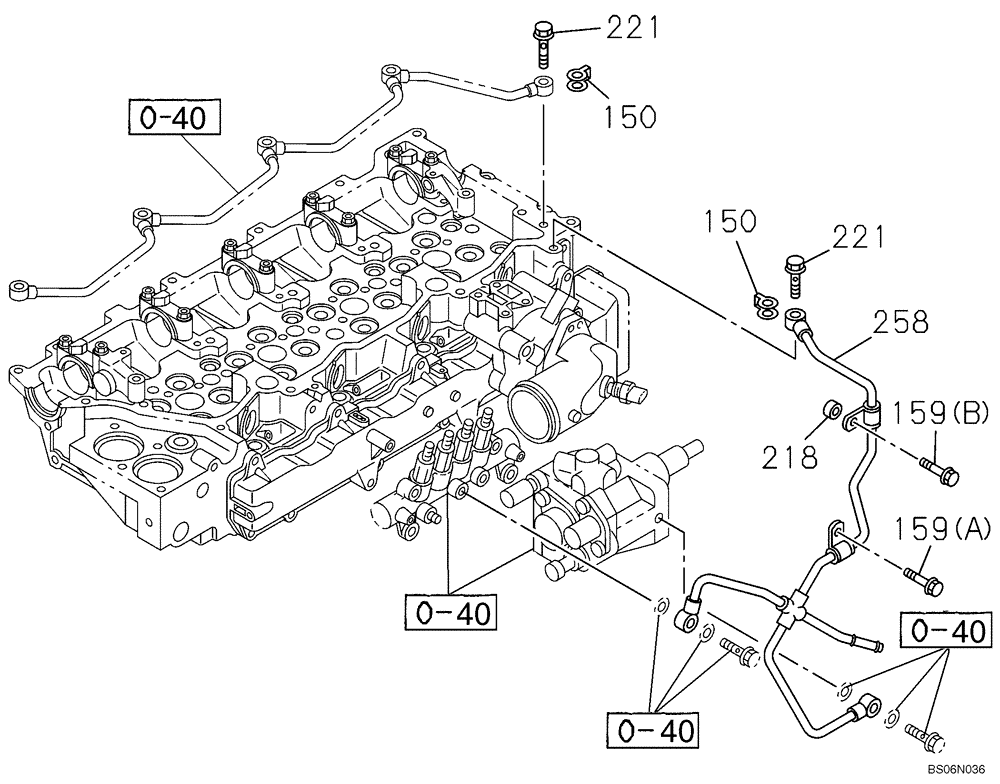
(03-08) - FUEL SYSTEM
№
Артикул
Название
Примечание
Количество
0-40
REF
INSTRUCTION
See Figure 03-04
1шт.
150
87596960
GASKET
2шт.
159a
87595952
BOLT
159b
87596970
218
87395163
SPACER
221
72109743
258
87596973
RETURN PIPE
Выбрано товаров: 0