Качественные детали и логистика
Оригинальные и аналоговые запчасти с доставкой по России, Казахстану и Беларуси
©2022 PartSell ООО "Система" ИНН 2463123282 ОГРН 1212400004838
Центральный офис: г. Красноярск, Академика Киренского, д.87, пом.4
Телефон: 8 (800) 777-65-74 Email: zakaz@partsell.ru
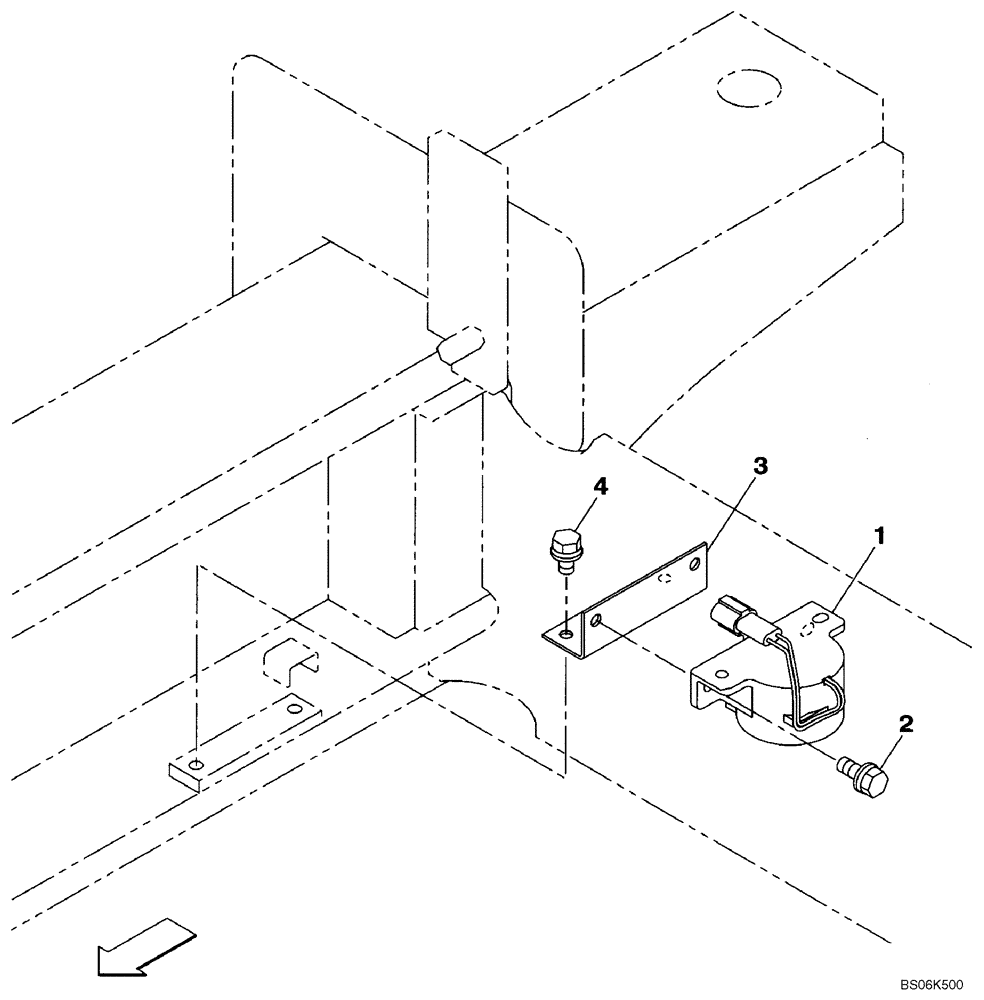
(04-08) - TRAVEL ALARM
№
Артикул
Название
Примечание
Количество
1
KHR3852
ALARM
Travel
1шт.
2
159602A1
BOLT,Sems, Hex, M6 x 16mm
2шт.
3
KHR15120
BRACKET
4
156559A1
BOLT,High Strength, Hex, M6 x 12mm, W/ LW
Выбрано товаров: 0