Запчасти Case CX210B (06-06) - HYDRAULICS - TRAVEL (06) - POWER TRAIN

Схема запчастей Case CX210B - (06-06) - HYDRAULICS - TRAVEL (06) - POWER TRAIN
12
1
3
1
14
11
7
2
1
5
10
9
6
11
4
1
13
11
14
9
11
8
10
13
12
FIT
1:1
100%

Артикул

Название

Примечание

Количество

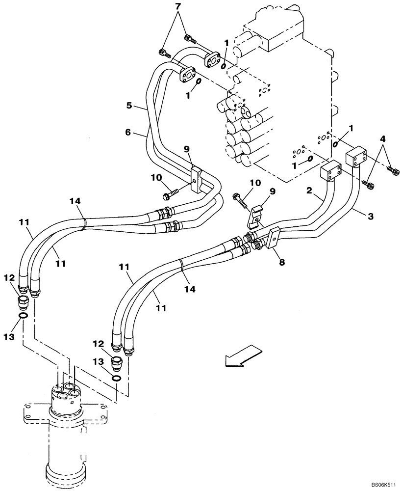
1

155210A1

O-RING

4шт.

2

KRJ10611

HYD TUBE,20.8 mm ID x 27.2 mm OD

1шт.

3

KRJ10621

HYD TUBE,20.8 mm ID x 27.2 mm OD

1шт.

4

862-10055

HEX SOC SCREW,M10 x 55mm, Cl 12.9

8шт.

5

KRJ10631

HYD TUBE

1шт.

6

KRJ10641

HYD TUBE

1шт.

7

862-10030

HEX SOC SCREW,M10 x 30mm, Cl 12.9

8шт.

8

KRJ10720

PLATE

1шт.

9

152085A1

COLLAR

2шт.

10

167183A1

BOLT,Sems, M12 x 60mm, Cl 10.9

2шт.

11

KRJ10710

HYDRAULIC HOSE,19.00 mm ID x 780.00 mm

4шт.

12

KHJ11060

STUD

Incl. 13

2шт.

13

150542A1

O-RING

1шт.

14

150498A1

MOUNTING CLIP

2шт.

Выбрано товаров: 14