Запчасти Case CX210B (08-03) - PUMP ASSY, HYDRAULIC - STANDARD - COUPLING (08) - HYDRAULICS

Схема запчастей Case CX210B - (08-03) - PUMP ASSY, HYDRAULIC - STANDARD - COUPLING (08) - HYDRAULICS
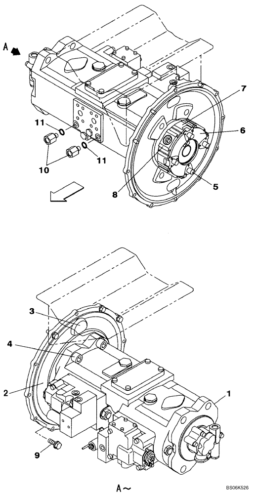
8
11
6
11
10
2
4
7
9
3
1
5
FIT
1:1
100%

Артикул

Название

Примечание

Количество

1

KRJ10290

HYDRAULIC PUMP

See Figure 08-87 - 08-91

1шт.

1

KRJ10290R

REMAN-HYD PUMP

CX210B CRAWLER EXCAVATOR TIER 3 (NA), STANDARD - COUPLING (1/07-)

1шт.

1

KRJ10290C

CORE-HYDRAULIC PUMP

Return Number

1шт.

2

166370A1

FLANGE

Flange

1шт.

3

KHJ2656

GROMMET

2шт.

4

862-20055

HEX SOC SCREW,M20 x 55mm, Cl 12.9

4шт.

5

KRJ10340

COUPLING

Incl. 6 - 8

1шт.

6

KRJ10650

COUPLING

1шт.

7

KRJ10660

INSERT

Coupling

4шт.

8

KRJ10670

INSERT

Coupling

1шт.

9

166347A1

BOLT,Sems, M10 x 30mm

8-9шт.

10

KHJ18180

STUD

Incl. 11, Replaces KHJ11380

2шт.

11

154467A1

O-RING,10.8mm ID x 2.4mm Width

1шт.

Выбрано товаров: 13