Запчасти Case CX210BLR (09-13) - MAT, FLOOR - OPERATORS COMPARTMENT - MODELS WITH PEDAL ACTIVATED AUXILIARY HYDRAULICS (09) - CHASSIS/ATTACHMENTS

Схема запчастей Case CX210BLR - (09-13) - MAT, FLOOR - OPERATORS COMPARTMENT - MODELS WITH PEDAL ACTIVATED AUXILIARY HYDRAULICS (09) - CHASSIS/ATTACHMENTS
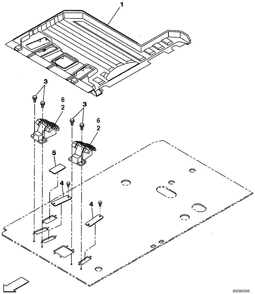
5
4
3
6
4
3
2
2
1
6
FIT
1:1
100%

Артикул

Название

Примечание

Количество

1

KHJ15020

FLOOR MAT

1шт.

2

KHJ13860

FOOTREST

2шт.

3

166052A1

BOLT

4шт.

4

KHJ14550

GROMMET

2шт.

5

KHJ14560

GROMMET

1шт.

6

KHP1400

COVER

2шт.

Выбрано товаров: 6