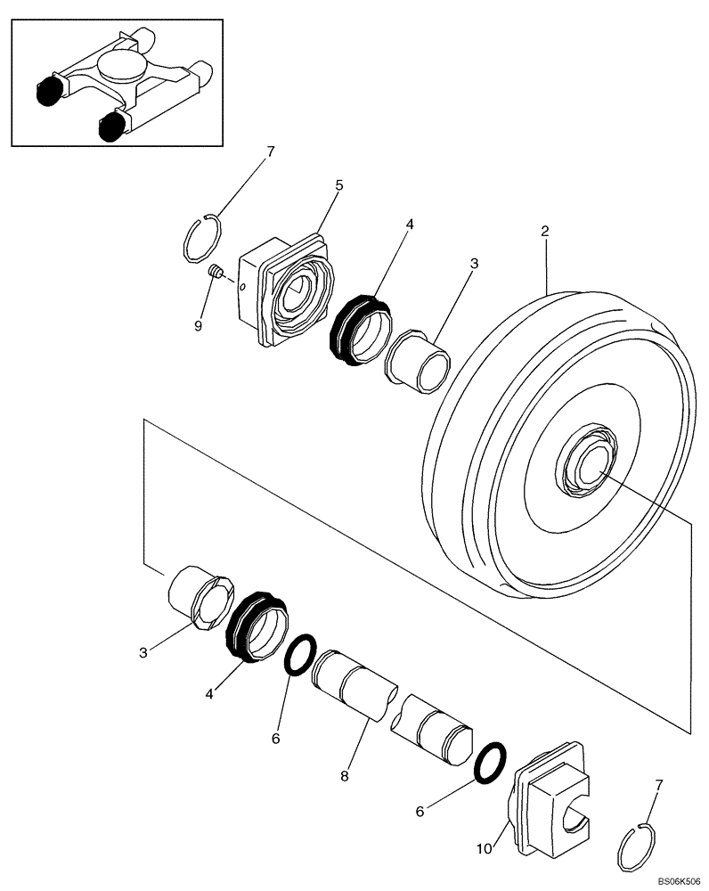
Запчасти Case CX210BLR (05-07) - TRACK - IDLER (11) - TRACKS/STEERING

Схема запчастей Case CX210BLR - (05-07) - TRACK - IDLER (11) - TRACKS/STEERING
9
7
8
4
4
3
6
7
6
5
10
2
3
FIT
1:1
100%

Артикул

Название

Примечание

Количество

KRA1767

IDLER

Pulley; Incl. 2 - 10

2шт.

2

KRA1768

IDLER

1шт.

3

160427A1

RING,65mm ID x 92mm OD x 69mm L

2шт.

4

160397A1

SEAL,95mm ID x 114mm OD x 32mm Thk

2шт.

5

160426A1

HUB

1шт.

6

154639A1

O-RING

2шт.

7

150597A1

COLLAR

2шт.

8

160408A1

WHEEL SHAFT

1шт.

9

150821A1

PLUG

1шт.

10

KRA1594

HUB

1шт.

Выбрано товаров: 10