Запчасти Case CX210BLR (02-11) - CYLINDER HEAD - VALVE MECHANISM (02) - ENGINE

Схема запчастей Case CX210BLR - (02-11) - CYLINDER HEAD - VALVE MECHANISM (02) - ENGINE
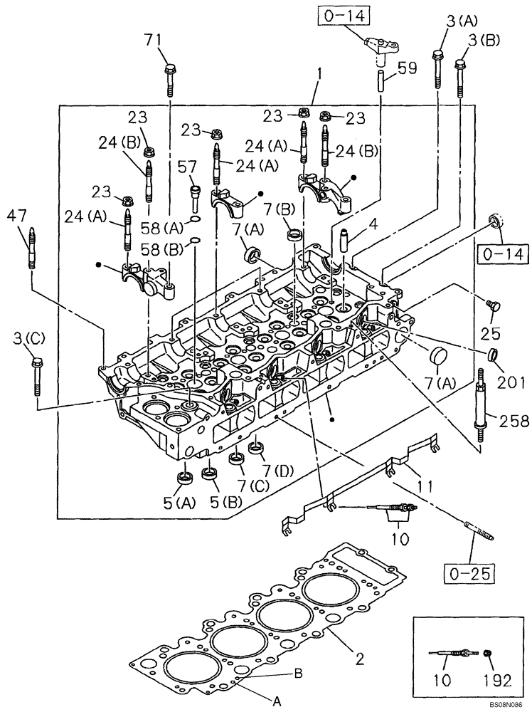
192
24(a)
23
24(b)
7(d)
258
0-14
59
5(b)
58(b)
4
3(c)
2
57
10
1
7(a)
3(b)
23
7(c)
7(b)
0-14
10
11
5(a)
24(a)
23
0-25
23
58(a)
24(b)
25
24(a)
201
7(a)
71
47
3(a)
23
FIT
1:1
100%

Артикул

Название

Примечание

Количество

0-14

REF

INSTRUCTION

Rocker; See Figure 02-16

1шт.

0-25

REF

INSTRUCTION

Stud; See Figure 02-21

1шт.

1

87654337

CYLINDER HEAD

Incl. 4, 5A, 5B, 7A - 7D, 23, 24A, 57, 58A, 58B; See Figure 02-12; Replaces 87595278

1шт.

1

47607704R

REMAN-CYLINDER HEAD

Complete With Valves

1шт.

1

47607704C

CORE-CYLINDER HEAD

Return Number

1шт.

2

87595389

GASKET,1.48mm Thk

Without Holes A & B T= 1.475

1шт.

2

87595395

GASKET

With Hole A T= 1.525

1шт.

2

87595396

GASKET

With Holes A & B T= 1.575

1шт.

3a

438152A1

BOLT

1шт.

3b

438153A1

BOLT

1шт.

3c

87595398

BOLT

18шт.

4

438044A1

GUIDE

16шт.

5a

72109510

VALVE SEAT

8шт.

5b

72109512

VALVE SEAT

8шт.

7a

87595408

CUPEL

5шт.

7b

289076A1

CUP

4шт.

7c

71455287

PLUG

7шт.

7d

353962A1

PLUG

5шт.

10

438043A1

HEATER COIL

4шт.

11

87595410

ELEC CONNECTOR

1шт.

23

87595428

NUT

10шт.

24a

438026A1

STUD

8шт.

24b

438025A1

STUD

2шт.

25

87377930

PLUG

1шт.

47

87595430

STUD

2шт.

57

87528150

NOZZLE HOLDER

4шт.

58a

87377928

GASKET

4шт.

58b

87377929

GASKET

4шт.

59

87379448

GUIDE

8шт.

71

87595463

BOLT

2шт.

192

87595807

NUT

4шт.

201

437881A1

GASKET

4шт.

258

87595816

ADAPTER

1шт.

Выбрано товаров: 33