Запчасти Case CX210BLR (02-13) - CYLINDER BLOCK (02) - ENGINE

Схема запчастей Case CX210BLR - (02-13) - CYLINDER BLOCK (02) - ENGINE
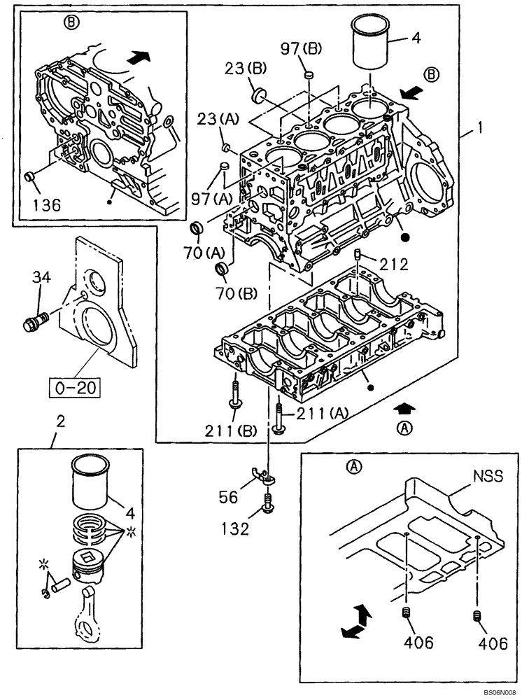
406
212
97a
1
56
23b
211b
2
406
0-20
97b
23a
34
132
136
4
4
70a
211a
70b
FIT
1:1
100%

Артикул

Название

Примечание

Количество

0-20

REF

INSTRUCTION

See Figure 02-19

1шт.

1

87595818

CYLINDER BLOCK

Incl. 4, 23A, 23B, 70A, 70B, 97B, 136, 211A, 211B, 212, 406; See Figure 02-14

1шт.

2

87595823

LINER, ENGINE CYLIND

Incl. 4

4шт.

2

87595824

LINER, ENGINE CYLIND

Incl. 4

4шт.

4

87435183

SLEEVE CYLINDER

OD Grade=1X, ID=N

4шт.

4

87379453

LINER, ENGINE CYLIND

OD Grade=3X, ID=N

4шт.

23a

289076A1

CUP

1шт.

23b

87398694

CUPEL

3шт.

34

87595841

VALVE PRESSURE RELIE

1шт.

56

72109546

LUBE OIL NOZZLE

LUBE OIL JET NOZZLE

4шт.

70a

289076A1

CUP

1шт.

70b

87379455

PLUG

4шт.

97a

353962A1

PLUG

1шт.

97b

368501A1

CUP

3шт.

132

289174A1

VALVE, CHECK

4шт.

136

87377938

BUSHING

2шт.

211a

87595398

BOLT

10шт.

211b

438151A1

BOLT

M10 x 82

17шт.

212

87379458

PIN

2шт.

406

289415A1

PLUG

2шт.

Выбрано товаров: 20