Запчасти Case CX210BLR (03-08) - FUEL SYSTEM (03) - FUEL SYSTEM

Схема запчастей Case CX210BLR - (03-08) - FUEL SYSTEM (03) - FUEL SYSTEM
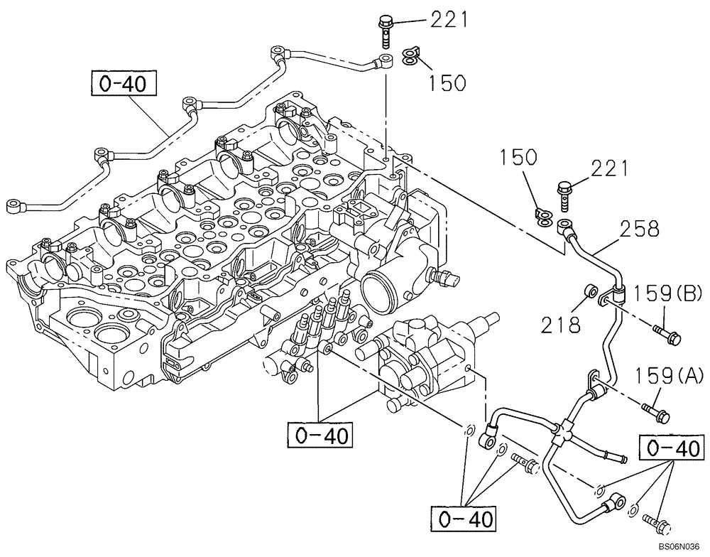
159b
0-40
150
0-40
221
218
0-40
150
258
159a
0-40
221
FIT
1:1
100%

Артикул

Название

Примечание

Количество

0-40

REF

INSTRUCTION

See Figure 03-04

1шт.

150

87596960

GASKET

2шт.

159a

87595952

BOLT

1шт.

159b

87596970

BOLT

1шт.

218

87395163

SPACER

1шт.

221

72109743

BOLT

2шт.

258

87596973

RETURN PIPE

1шт.

Выбрано товаров: 7