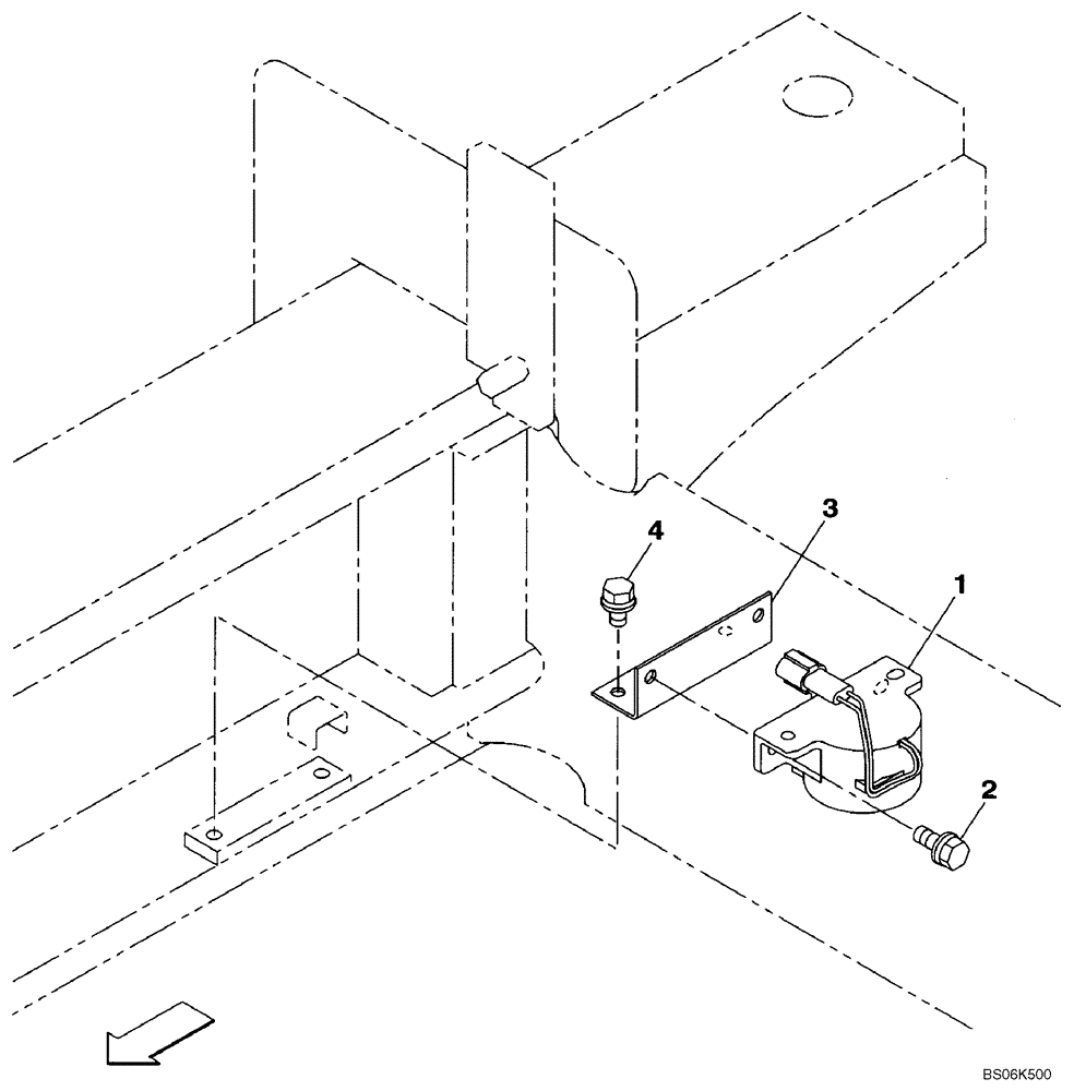
Запчасти Case CX210BLR (04-08) - TRAVEL ALARM (04) - ELECTRICAL SYSTEMS

Схема запчастей Case CX210BLR - (04-08) - TRAVEL ALARM (04) - ELECTRICAL SYSTEMS
1
4
3
2
FIT
1:1
100%

Артикул

Название

Примечание

Количество

1

KHR3852

ALARM

Travel

1шт.

2

159602A1

BOLT,Sems, Hex, M6 x 16mm

2шт.

3

KHR15120

BRACKET

1шт.

4

156559A1

BOLT,High Strength, Hex, M6 x 12mm, W/ LW

2шт.

Выбрано товаров: 4