Запчасти Case CX210BNLC (08-46) - PLUG (08) - HYDRAULICS

Схема запчастей Case CX210BNLC - (08-46) - PLUG (08) - HYDRAULICS
9
8
13
6
5
3
17
6
13
5
13
11
12
16
7
10
2
14
12
15
1
4
8
18
9
11
12
11
7
FIT
1:1
100%

Артикул

Название

Примечание

Количество

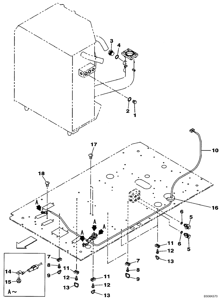
1

159085A1

PLUG

Incl. 2

1шт.

2

154487A1

O-RING

1шт.

3

162659A1

PLUG

Incl. 4

1шт.

4

154523A1

O-RING

1шт.

5

150913A1

ELBOW,90 Degree, 1/4" O-Ring x 1/4"

Incl. 6

2шт.

6

154467A1

O-RING,10.8mm ID x 2.4mm Width

1шт.

7

150860A1

COLLAR

3шт.

8

145N006S008R

SCREW,Pan Hd, M6 x 8mm, Cl 10.9

3шт.

9

150496A1

MOUNTING CLIP

3шт.

10

KHR15960

WIRE HARNESS

1шт.

11

150860A1

COLLAR

4шт.

12

145N006S008R

SCREW,Pan Hd, M6 x 8mm, Cl 10.9

4шт.

13

150496A1

MOUNTING CLIP

4шт.

14

158962A1

CLIP

4шт.

15

166345A1

BOLT

4шт.

16

KHJ14640

SEAL

1шт.

17

KHJ15060

CAP

2шт.

18

KHJ15080

CAP

1шт.

Выбрано товаров: 18