Запчасти Case CX210BNLC (08-51) - PLUG (08) - HYDRAULICS

Схема запчастей Case CX210BNLC - (08-51) - PLUG (08) - HYDRAULICS
1
18
18
23
16
17
14
13
19
20
6
3
5
24
12
8
13
17
22
25
26
19
15
9
11
19
7
10
12
21
4
15
23
24
14
11
24
2
FIT
1:1
100%

Артикул

Название

Примечание

Количество

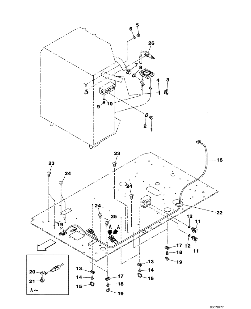
1

159085A1

PLUG

Incl. 2

1шт.

2

154487A1

O-RING

1шт.

3

162659A1

PLUG

Incl. 4

1шт.

4

154523A1

O-RING

1шт.

5

159002A1

PLUG

Incl. 6

1шт.

6

154467A1

O-RING,10.8mm ID x 2.4mm Width

1шт.

7

162659A1

PLUG

Incl. 8

1шт.

8

154523A1

O-RING

1шт.

9

159002A1

PLUG

Incl. 10

1шт.

10

154467A1

O-RING,10.8mm ID x 2.4mm Width

1шт.

11

150913A1

ELBOW,90 Degree, 1/4" O-Ring x 1/4"

Incl. 12

2шт.

12

154467A1

O-RING,10.8mm ID x 2.4mm Width

1шт.

13

150860A1

COLLAR

3шт.

14

145N006S008R

SCREW,Pan Hd, M6 x 8mm, Cl 10.9

3шт.

15

150496A1

MOUNTING CLIP

3шт.

16

KHR15060

WIRE HARNESS

1шт.

17

150860A1

COLLAR

4шт.

18

145N006S008R

SCREW,Pan Hd, M6 x 8mm, Cl 10.9

4шт.

19

150496A1

MOUNTING CLIP

5шт.

20

158962A1

CLIP

2шт.

21

166345A1

BOLT

2шт.

22

KHJ14640

SEAL

1шт.

23

KHJ15060

CAP

4шт.

24

KHJ15080

CAP

4шт.

25

KHJ15070

CAP

1шт.

26

KHR16740

WIRE HARNESS

1шт.

Выбрано товаров: 26