Запчасти Case CX210BNLC (08-54) - GEAR ASSY, REDUCTION MOTOR, SWING (08) - HYDRAULICS

Схема запчастей Case CX210BNLC - (08-54) - GEAR ASSY, REDUCTION MOTOR, SWING (08) - HYDRAULICS
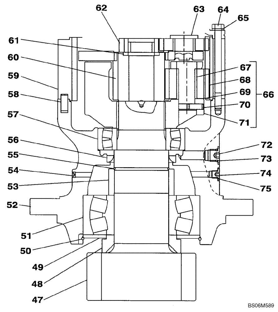
49
68
60
48
53
61
72
65
64
59
71
52
70
67
56
74
54
73
57
47
63
55
69
50
75
58
62
66
51
FIT
1:1
100%

Артикул

Название

Примечание

Количество

KRC10010

MOTO-REDUCTION GEAR

Includes All Parts On Figures 08-53, 08-54

1шт.

KRC10260R

REMAN-HYD MOTOR

CX210BNLC CRAWLER EXCAVATOR TIER 3 (NA), GEAR ASSY, REDUCTION MOTOR, SWING (1/07-), Reman for New PN KRC10010

1шт.

KRC10260C

CORE-MOTOR HYDRAULIC

Return Number

1шт.

46

LN001820

REDUCER

Incl. 47 - 75

1шт.

46

LN001820R

REMAN-REDUCTION UNIT

1шт.

46

LN001820C

CORE-REDUCTION UNIT

Return Number

1шт.

47

LB011740

SHAFT

1шт.

48

160548A1

COLLAR

1шт.

49

156356A1

PLATE

1шт.

50

155685A1

RING, SNAP

RING SNAP

1шт.

51

156157A1

BEARING, ROLLER,110mm ID x 215mm OD x 73mm W

1шт.

52

LW005020

HOUSING

1шт.

53

LH00337

COLLAR

1шт.

54

LK00053

PLUG

1шт.

55

155686A1

RING, SNAP

RING SNAP

1шт.

56

155107A1

OIL SEAL

1шт.

57

160611A1

BEARING, ROLLER,90mm ID x 160mm OD x 40mm W

1шт.

58

155621A1

COTTER PIN

4шт.

59

LC00221

RING GEAR

1шт.

60

160520A1

GEAR

1шт.

61

160047A1

PLATE, THRUST

1шт.

62

LC00222

SUN GEAR

1шт.

63

LS00222

HOLDER

1шт.

64

LA00069

BOLT

16шт.

65

892-10012

LOCK WASHER,M12

16шт.

66

168437A1

HOLDER

Incl. 67 - 71

1шт.

67

LB00758

SHAFT

3шт.

68

LC00149

PLANETARY GEAR

3шт.

69

155383A1

WASHER, THRUST

3шт.

70

LA00068

DOWEL

3шт.

71

LS00190

HOLDER

1шт.

72

160903A1

CAP

1шт.

73

154487A1

O-RING

1шт.

74

160306A1

CAP

1шт.

75

154467A1

O-RING,10.8mm ID x 2.4mm Width

1шт.

Выбрано товаров: 35