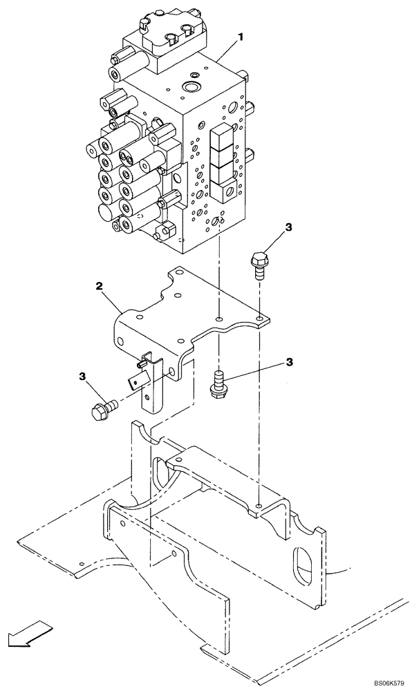
Запчасти Case CX210BNLC (08-57) - KRJ16011 CONTROL VALVE - SUPPORT (08) - HYDRAULICS

Схема запчастей Case CX210BNLC - (08-57) - KRJ16011 CONTROL VALVE - SUPPORT (08) - HYDRAULICS
3
3
1
3
2
FIT
1:1
100%

Артикул

Название

Примечание

Количество

1

KRJ16011

CONTROL VALVE

See Figures 08-64 - 08-69, Replaces KRJ16010

1шт.

for machine with low flow circuit and with or without hammer, multi-purpose, double acting circuit.

1шт.

2

KRJ16040

SUPPORT

1шт.

3

166373A1

BOLT,Sems, M16 x 40mm

8шт.

Выбрано товаров: 4