Запчасти Case CX210BNLC (08-59) - KRJ10310 VALVE ASSY - CONTROL (08) - HYDRAULICS

Схема запчастей Case CX210BNLC - (08-59) - KRJ10310 VALVE ASSY - CONTROL (08) - HYDRAULICS
60
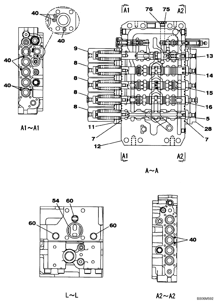
8
60
40
8
12
14
40
60
75
5
54
13
40
15
9
40
7
16
11
28
8
8
40
76
7
FIT
1:1
100%

Артикул

Название

Примечание

Количество

KRJ10310

CONTROL VALVE

Includes All Parts On Figures 08-58 - 08-63

1шт.

5

NSS

NOT SOLD SEPARAT

Spool

1шт.

7

154589A1

O-RING

10шт.

8

LR015210

CAP

4шт.

9

LR015220

CAP

1шт.

11

LR015240

PLATE

1шт.

12

NSS

NOT SOLD SEPARAT

Housing

1шт.

13

NSS

NOT SOLD SEPARAT

Spool

1шт.

14

NSS

NOT SOLD SEPARAT

Spool

1шт.

15

NSS

NOT SOLD SEPARAT

Spool

1шт.

16

NSS

NOT SOLD SEPARAT

Spool

1шт.

28

LR015270

PLATE

1шт.

40

154447A1

O-RING

9шт.

54

154625A1

O-RING

1шт.

60

LE012520

O-RING

3шт.

75

163369A1

PLUG

Incl. 76

10шт.

76

154475A1

O-RING

1шт.

Выбрано товаров: 17