Запчасти Case CX210BNLC (08-61) - KRJ10310 VALVE ASSY - CONTROL (08) - HYDRAULICS

Схема запчастей Case CX210BNLC - (08-61) - KRJ10310 VALVE ASSY - CONTROL (08) - HYDRAULICS
38
33
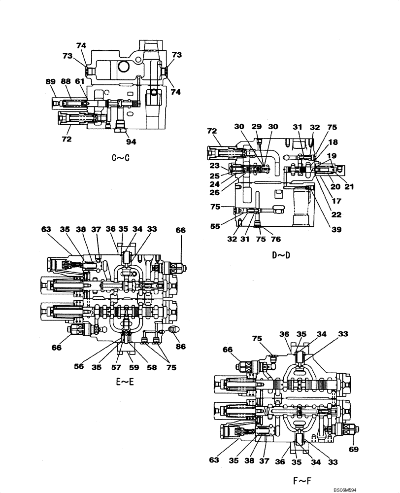
73
23
24
72
75
66
75
74
34
61
22
76
34
74
73
75
19
35
59
55
37
88
56
29
86
31
31
33
57
17
36
75
25
35
30
66
58
75
30
39
63
35
26
89
35
66
36
35
21
34
37
35
72
63
69
18
36
38
32
20
32
94
33
FIT
1:1
100%

Артикул

Название

Примечание

Количество

KRJ10310

CONTROL VALVE

Includes All Parts On Figures 08-58 - 08-63

1шт.

17

LR015250

CAP

1шт.

18

NSS

NOT SOLD SEPARAT

Spool, Valve

1шт.

19

163393A1

SPRING SEAT

2шт.

20

LG00338

SPRING

1шт.

21

LPC0222

END FITTING

1шт.

22

154514A1

O-RING

1шт.

23

LK005690

PLUG

1шт.

24

154503A1

O-RING

1шт.

25

LG00339

SPRING

1шт.

26

LJ014690

SPOOL,Regeneration

1шт.

29

154483A1

O-RING

1шт.

30

153967A1

BACK-UP RING

2шт.

31

LJ00726

VALVE POPPET

2шт.

32

LG00340

SPRING

2шт.

33

LJ00727

VALVE POPPET

3шт.

34

LG00341

SPRING

3шт.

35

154539A1

O-RING

6шт.

36

LH00248

CAP

3шт.

37

163390A1

VALVE POPPET

2шт.

38

163394A1

SPRING

2шт.

39

LJ00731

ORIFICE

1шт.

55

LH004970

SPACER

1шт.

56

LH004980

SLEEVE

1шт.

57

160187A1

VALVE POPPET

1шт.

58

160242A1

SPRING

1шт.

59

LH004990

FLANGE

1шт.

61

LE014890

O-RING,3.53mm Thk x 25.7mm ID, Cl 6

14шт.

63

LJ014710

VALVE SECTION

2шт.

66

LJ014730

VALVE PRESSURE RELIE

See Figure 08-63

3шт.

69

LJ014740

VALVE PRESSURE RELIE

See Figure 08-63

1шт.

72

LJ014700

VALVE PRESSURE RELIE

See Figure 08-63

2шт.

73

163370A1

PLUG

Incl. 74

2шт.

74

154487A1

O-RING

1шт.

75

163369A1

PLUG

Incl. 76

6шт.

76

154475A1

O-RING

1шт.

86

NSS

NOT SOLD SEPARAT

Plug

1шт.

88

NSS

NOT SOLD SEPARAT

Spool

1шт.

89

LR015290

CAP

1шт.

94

LK00302

PLUG

1шт.

Выбрано товаров: 40