Запчасти Case CX210BNLC (08-66) - KRJ16011 VALVE ASSY - CONTROL (08) - HYDRAULICS

Схема запчастей Case CX210BNLC - (08-66) - KRJ16011 VALVE ASSY - CONTROL (08) - HYDRAULICS
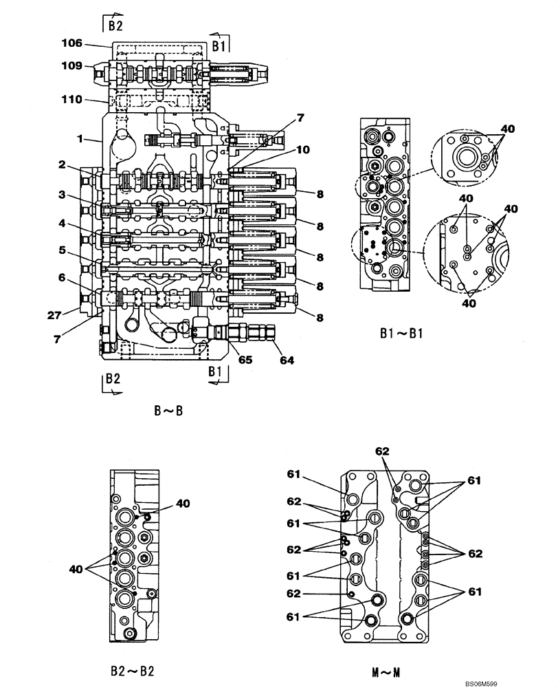
62
1
40
8
7
8
109
40
8
62
65
64
8
27
61
61
61
62
5
61
62
4
61
61
10
110
40
3
2
40
40
40
62
106
6
8
7
FIT
1:1
100%

Артикул

Название

Примечание

Количество

KRJ16011

CONTROL VALVE

Includes All Parts On Figures 08-64 - 08-69, Replaces KRJ16010

1шт.

1

NSS

NOT SOLD SEPARAT

Housing, Valve

1шт.

2

NSS

NOT SOLD SEPARAT

Spool

1шт.

3

NSS

NOT SOLD SEPARAT

Spool

1шт.

4

NSS

NOT SOLD SEPARAT

Spool

1шт.

5

NSS

NOT SOLD SEPARAT

Spool

2шт.

6

NSS

NOT SOLD SEPARAT

Spool

1шт.

7

154589A1

O-RING

10шт.

8

LR015210

CAP

5шт.

10

LR015230

PLATE

1шт.

27

LR015260

PLATE

1шт.

40

154447A1

O-RING

18шт.

61

LE014890

O-RING,3.53mm Thk x 25.7mm ID, Cl 6

13шт.

62

154463A1

O-RING

12шт.

64

LJ014720

VALVE PRESSURE RELIE

Incl. 65

1шт.

65

155223A1

O-RING

1шт.

103

LT001660

END PLATE

11шт.

KRJ10330

CONTROL VALVE

Includes Ref 109 & 110

1шт.

109

LJ014760

HYD VALVE SECTION

1шт.

110

LJ014770

CONNECTING BLOCK

1шт.

Выбрано товаров: 20