Запчасти Case CX210BNLC (08-67) - KRJ16011 VALVE ASSY - CONTROL (08) - HYDRAULICS

Схема запчастей Case CX210BNLC - (08-67) - KRJ16011 VALVE ASSY - CONTROL (08) - HYDRAULICS
37
35
77
36
76
23
20
35
17
63
66
79
31
38
78
77
59
38
39
18
32
57
21
78
55
30
63
56
92
33
31
91
35
25
34
66
34
32
35
79
30
66
35
37
36
89
22
33
78
26
97
75
33
75
79
29
78
24
34
79
78
61
69
58
19
35
36
76
FIT
1:1
100%

Артикул

Название

Примечание

Количество

KRJ16011

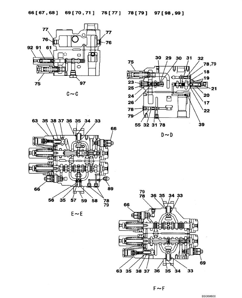
CONTROL VALVE

Includes All Parts On Figures 08-64 - 08-69, Replaces KRJ16010

1шт.

17

LR015250

CAP

1шт.

18

NSS

NOT SOLD SEPARAT

Spool, Valve

1шт.

19

163393A1

SPRING SEAT

2шт.

20

LG00338

SPRING

1шт.

21

LPC0222

END FITTING

1шт.

22

154514A1

O-RING

1шт.

23

LK005690

PLUG

1шт.

24

154503A1

O-RING

1шт.

25

LG00339

SPRING

1шт.

26

LJ014690

SPOOL,Regeneration

1шт.

29

154483A1

O-RING

1шт.

30

153967A1

BACK-UP RING

2шт.

31

LJ00726

VALVE POPPET

2шт.

32

LG00340

SPRING

2шт.

33

LJ00727

VALVE POPPET

3шт.

34

LG00341

SPRING

3шт.

35

154539A1

O-RING

6шт.

36

LH00248

CAP

3шт.

37

163390A1

VALVE POPPET

2шт.

38

163394A1

SPRING

2шт.

39

LJ00731

ORIFICE

1шт.

55

LH004970

SPACER

1шт.

56

LH004980

SLEEVE

1шт.

57

160187A1

VALVE POPPET

1шт.

58

160242A1

SPRING

1шт.

59

LH004990

FLANGE

1шт.

61

LE014890

O-RING,3.53mm Thk x 25.7mm ID, Cl 6

1шт.

63

LJ014710

VALVE SECTION

2шт.

66

LJ014730

VALVE PRESSURE RELIE

See Figure 08-69

3шт.

69

LJ014740

VALVE PRESSURE RELIE

See Figure 08-69

1шт.

75

LJ014700

VALVE PRESSURE RELIE

2шт.

76

163370A1

PLUG

Incl. 77

2шт.

77

154487A1

O-RING

1шт.

78

163369A1

PLUG

Incl. 79

6шт.

79

154475A1

O-RING

1шт.

91

NSS

NOT SOLD SEPARAT

Spool

1шт.

92

LR015290

CAP

1шт.

97

LK00302

PLUG

1шт.

Выбрано товаров: 39