Запчасти Case CX210BNLC (08-89) - KRJ17130 PUMP ASSY, HYDRAULIC - VALVE ASSY (08) - HYDRAULICS

Схема запчастей Case CX210BNLC - (08-89) - KRJ17130 PUMP ASSY, HYDRAULIC - VALVE ASSY (08) - HYDRAULICS
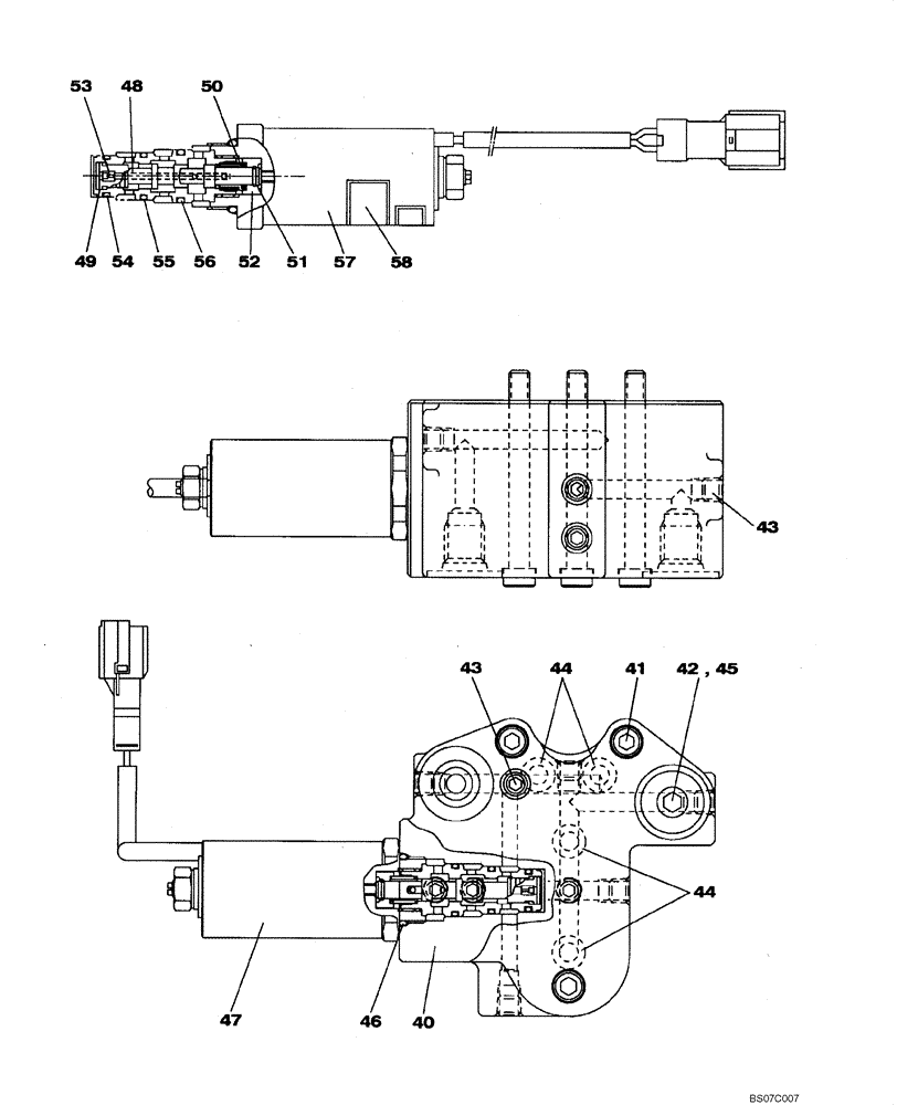
50
40
41
42
52
56
48
53
49
45
44
57
47
43
51
44
54
55
46
58
43
FIT
1:1
100%

Артикул

Название

Примечание

Количество

KRJ17130

HYDRAULIC PUMP

Includes All Parts On Figures 08-87 - 08-91

1шт.

LJ015260

VALVE SECTION

Incl. 40 - 58

1шт.

40

NSS

NOT SOLD SEPARAT

Case

1шт.

41

LA00053

BOLT

3шт.

42

LK00015

PLUG

1шт.

43

LK00003

PLUG

11шт.

44

LE013470

O-RING

4шт.

45

LE013410

O-RING

1шт.

46

LE013430

O-RING

1шт.

47

LJ00684

SOLENOID VALVE

Incl. 48 - 58

1шт.

48

NSS

NOT SOLD SEPARAT

Spool, Valve

1шт.

49

NSS

NOT SOLD SEPARAT

Sleeve

1шт.

50

NSS

NOT SOLD SEPARAT

Spring, Compression

1шт.

51

NSS

NOT SOLD SEPARAT

Ring

1шт.

52

NSS

NOT SOLD SEPARAT

Seat, Spring

1шт.

53

NSS

NOT SOLD SEPARAT

Orifice

1шт.

54

155203A1

O-RING

1шт.

55

155204A1

O-RING

1шт.

56

160652A1

O-RING

1шт.

57

LL00055

SOLENOID

1шт.

68

NSS

NOT SOLD SEPARAT

Name Plate

1шт.

Выбрано товаров: 21