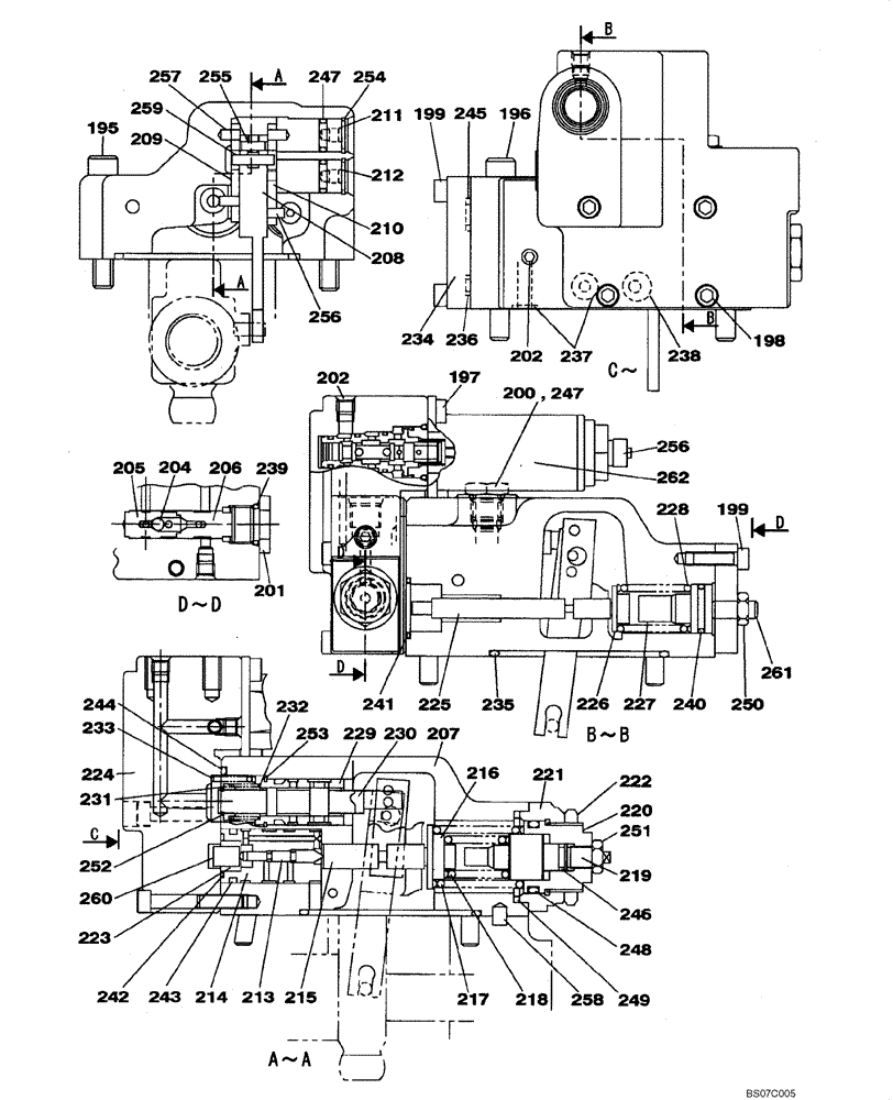
Запчасти Case CX210BNLC (08-91) - KRJ17130 PUMP ASSY, HYDRAULIC - REGULATOR (08) - HYDRAULICS

Схема запчастей Case CX210BNLC - (08-91) - KRJ17130 PUMP ASSY, HYDRAULIC - REGULATOR (08) - HYDRAULICS
232
201
199
208
205
202
211
227
196
249
257
219
253
236
244
248
218
238
216
221
202
241
230
256
217
225
226
212
239
243
250
242
200
255
247
209
245
231
252
247
235
260
199
215
213
234
240
223
197
254
206
222
210
229
220
228
204
198
259
214
233
195
256
224
246
251
237
207
262
261
258
FIT
1:1
100%

Артикул

Название

Примечание

Количество

KRJ17130

HYDRAULIC PUMP

Includes All Parts On Figures 08-87 - 08-91

1шт.

LJ015280

GOVERNOR

Incl. 195 - 262

1шт.

195

108R008Z050N

BOLT

2шт.

196

861-8070

HEX SOC SCREW,M8 x 70mm, Cl 12.9

2шт.

197

LA010920

BOLT,Hex Skt Hd

2шт.

198

108R006Z040R

BOLT

4шт.

199

862-6020

HEX SOC SCREW,M6 x 20mm, Cl 12.9

8шт.

200

155496A1

PLUG

1шт.

201

TLM0023

PLUG

1шт.

202

LK00003

PLUG

12шт.

LJ014480

VALVE SECTION

Shuttle; Incl. 204 - 206

1шт.

204

NSS

NOT SOLD SEPARAT

Ball

1шт.

205

NSS

NOT SOLD SEPARAT

Seat

1шт.

206

NSS

NOT SOLD SEPARAT

Seat

1шт.

207

NSS

NOT SOLD SEPARAT

Case

1шт.

208

NSS

NOT SOLD SEPARAT

Lever

1шт.

209

NSS

NOT SOLD SEPARAT

Lever

1шт.

210

NSS

NOT SOLD SEPARAT

Lever

1шт.

211

NSS

NOT SOLD SEPARAT

Plug

1шт.

212

NSS

NOT SOLD SEPARAT

Plug

1шт.

213

NSS

NOT SOLD SEPARAT

Piston

1шт.

214

NSS

NOT SOLD SEPARAT

Case

1шт.

215

NSS

NOT SOLD SEPARAT

Rod

1шт.

216

NSS

NOT SOLD SEPARAT

Seat, Spring

1шт.

217

NSS

NOT SOLD SEPARAT

Spring

1шт.

218

NSS

NOT SOLD SEPARAT

Spring, Compression

1шт.

219

NSS

NOT SOLD SEPARAT

Seat, Spring

1шт.

220

NSS

NOT SOLD SEPARAT

Screw

1шт.

221

NSS

NOT SOLD SEPARAT

Cover

1шт.

222

NSS

NOT SOLD SEPARAT

Nut

1шт.

223

NSS

NOT SOLD SEPARAT

Sleeve

1шт.

224

NSS

NOT SOLD SEPARAT

Cover

1шт.

225

NSS

NOT SOLD SEPARAT

Piston

1шт.

226

NSS

NOT SOLD SEPARAT

Seat, Spring

1шт.

227

NSS

NOT SOLD SEPARAT

Pin

1шт.

228

NSS

NOT SOLD SEPARAT

Spring

1шт.

229

NSS

NOT SOLD SEPARAT

Sleeve

1шт.

230

NSS

NOT SOLD SEPARAT

Spool

1шт.

231

NSS

NOT SOLD SEPARAT

Seat, Spring

1шт.

232

NSS

NOT SOLD SEPARAT

Spring

1шт.

233

NSS

NOT SOLD SEPARAT

Spring

1шт.

234

NSS

NOT SOLD SEPARAT

Cover

1шт.

235

LE013390

O-RING

1шт.

236

LE013460

O-RING

3шт.

237

LE013470

O-RING

9шт.

238

LE013400

O-RING

1шт.

239

LE013490

O-RING

1шт.

240

LE01177

O-RING

1шт.

241

LE00608

O-RING

1шт.

242

LE013420

O-RING

1шт.

243

LE013430

O-RING

4шт.

244

LE013380

O-RING

1шт.

245

LE013520

O-RING

1шт.

246

LE013540

O-RING

1шт.

247

LE013410

O-RING

3шт.

248

LE013450

O-RING

1шт.

249

LE01176

O-RING

1шт.

250

LA00065

JAM NUT

1шт.

251

LA010640

JAM NUT

1шт.

252

800-1110

SNAP RING,M10, Ext

1шт.

253

NSS

NOT SOLD SEPARAT

1шт.

254

800-2115

SNAP RING,M15, Int

2шт.

255

NSS

NOT SOLD SEPARAT

Pin

1шт.

256

NSS

NOT SOLD SEPARAT

Pin

2шт.

257

NSS

NOT SOLD SEPARAT

Pin

2шт.

258

NSS

NOT SOLD SEPARAT

Pin

1шт.

259

NSS

NOT SOLD SEPARAT

Pin

1шт.

260

NSS

NOT SOLD SEPARAT

Pin

1шт.

261

LA00759

BOLT,Hex Skt Hd

1шт.

Выбрано товаров: 69