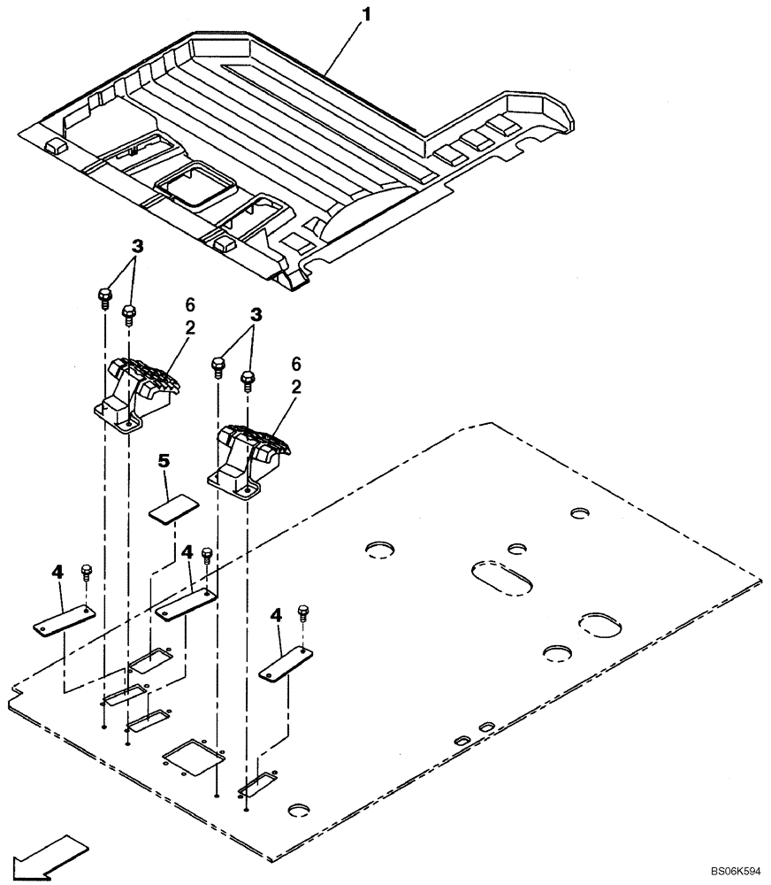
Запчасти Case CX210BNLC (09-12) - MAT, FLOOR - OPERATORS COMPARTMENT (09) - CHASSIS/ATTACHMENTS

Схема запчастей Case CX210BNLC - (09-12) - MAT, FLOOR - OPERATORS COMPARTMENT (09) - CHASSIS/ATTACHMENTS
6
2
3
4
6
4
3
4
1
5
2
FIT
1:1
100%

Артикул

Название

Примечание

Количество

1

KHJ14990

FLOOR MAT

1шт.

2

KHJ13860

FOOTREST

2шт.

3

166052A1

BOLT

4шт.

4

KHJ14550

GROMMET

3шт.

5

KHJ14560

GROMMET

1шт.

6

KHP1400

COVER

2шт.

Выбрано товаров: 6