Запчасти Case CX210BNLC (09-25) - AIR CONDITIONING - CONDENSER AND RECEIVER-DRIER (09) - CHASSIS/ATTACHMENTS

Схема запчастей Case CX210BNLC - (09-25) - AIR CONDITIONING - CONDENSER AND RECEIVER-DRIER (09) - CHASSIS/ATTACHMENTS
41
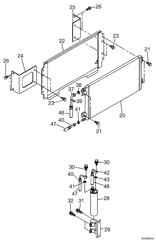
22
42
48
30
21
30
37
26
21
23
39
20
24
47
28
38
26
40
47
31
23
29
41
40
46
25
32
43
FIT
1:1
100%

Артикул

Название

Примечание

Количество

CONDENSER

1шт.

20

KHR13070

CONDENSER

1шт.

21

166350A1

BOLT

4шт.

22

KRR11861

SUPPORT

1шт.

23

166052A1

BOLT

4шт.

24

KRR11870

SUPPORT

1шт.

25

KRR11880

SUPPORT

1шт.

26

166351A1

BOLT,Sems, M10 x 20mm

4шт.

EVAPORATOR

1шт.

28

KHR13590

RECEIVER-DRYER

1шт.

29

KHR13600

BRACKET

1шт.

30

162043A1

BOLT,Spcl, M6

2шт.

31

167518A1

BOLT

2шт.

32

159602A1

BOLT,Sems, Hex, M6 x 16mm

2шт.

37

KHR14950

HOSE

Incl. 38, 39

1шт.

38

169053A1

O-RING

2шт.

39

KHR3053

CAP

1шт.

40

KHR14960

HOSE

Incl. 41

1шт.

41

169054A1

O-RING

2шт.

42

KHR14970

HOSE

Incl. 43

1шт.

43

169054A1

O-RING

2шт.

47

150773A1

PLASTIC-RUBBER TUBE

1шт.

Выбрано товаров: 22