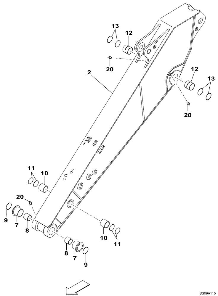
Запчасти Case CX210BNLC (09-40[01]) - ARM (2.40 M) - SHORT (09) - CHASSIS/ATTACHMENTS

Схема запчастей Case CX210BNLC - (09-40[01]) - ARM (2.40 M) - SHORT (09) - CHASSIS/ATTACHMENTS
13
20
9
12
2
8
12
11
11
20
8
7
10
10
20
9
13
7
FIT
1:1
100%

Артикул

Название

Примечание

Количество

1

KRV20640

DIPPER

Short 2.40 M, Include(s) 2, 7 - 13

1шт.

2

NSS

NOT SOLD SEPARAT

1шт.

7

KRV2408

BUSHING

2шт.

8

KRV10910

BUSHING

2шт.

9

159647A1

SEAL,80mm ID x 95mm OD x 5mm Thk

2шт.

10

KRV2396

BUSHING,75mm ID x 90mm OD x 60mm L

2шт.

11

160400A1

SEAL,75mm ID x 90mm OD x 5mm Thk

4шт.

12

KRV2397

SELF LUB RING

2шт.

13

159648A1

SEAL,90mm ID x 105mm OD x 5mm Thk

4шт.

20

153630A1

LUBE NIPPLE

3шт.

Выбрано товаров: 10