Запчасти Case CX210BNLC (02-35) - ENGINE FLYWHEEL HOUSING (02) - ENGINE

Схема запчастей Case CX210BNLC - (02-35) - ENGINE FLYWHEEL HOUSING (02) - ENGINE
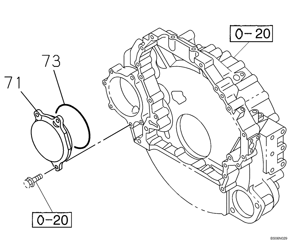
71
73
0-20
0-20
FIT
1:1
100%

Артикул

Название

Примечание

Количество

0-20

REF

INSTRUCTION

See Figure 02-20

1шт.

71

438096A1

COVER

1шт.

73

438091A1

GASKET

1шт.

Выбрано товаров: 3