Запчасти Case CX210BNLC (03-01) - FUEL TANK (03) - FUEL SYSTEM

Схема запчастей Case CX210BNLC - (03-01) - FUEL TANK (03) - FUEL SYSTEM
7
5
15
6
16
10
4
8
11
18
17
2
19
3
13
14
12
9
FIT
1:1
100%

Артикул

Название

Примечание

Количество

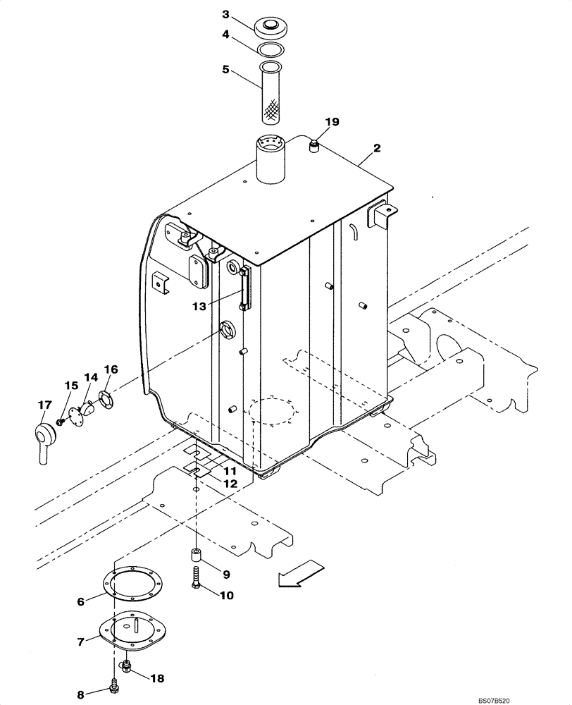
KRH11290

FUEL TANK

Incl. 2 - 8

1шт.

2

NSS

NOT SOLD SEPARAT

Tank

1шт.

3

150492A1

LOCKABLE FUEL CAP

Incl. 4

1шт.

4

163804A1

GASKET

1шт.

5

KHH10060

FILTER

Fuel

1шт.

6

151322A1

GASKET,3mm Thk

1шт.

7

KRH11410

COVER

1шт.

8

166052A1

BOLT

8шт.

9

153357A1

SPACER

4шт.

10

827-16070

BOLT,Hex, M16 x 2 x 70mm, Cl 10.9

4шт.

11

150166A1

SHIM

0,80 mm (0,032 in)

1шт.

12

150479A1

SHIM

2,00 mm (0,079 in)

1шт.

13

KHH12090

DIPSTICK

Replaces 159478A1

1шт.

14

KHR10670

SENSOR

1шт.

15

151688A1

SCREW,Phil Pan Hd, M5 x 12mm, W/ Wshr

5шт.

16

152591A1

GASKET,2mm Thk

1шт.

17

159698A1

COVER

1шт.

18

150962A1

COCK, DRAIN

1шт.

19

152718A1

BOLT,Spcl, Hex Wshr, M12 x 25mm, Cl 10.9

1шт.

Выбрано товаров: 19