Запчасти Case CX210BNLC (04-09) - CONVERTER (04) - ELECTRICAL SYSTEMS

Схема запчастей Case CX210BNLC - (04-09) - CONVERTER (04) - ELECTRICAL SYSTEMS
3
2
1
FIT
1:1
100%

Артикул

Название

Примечание

Количество

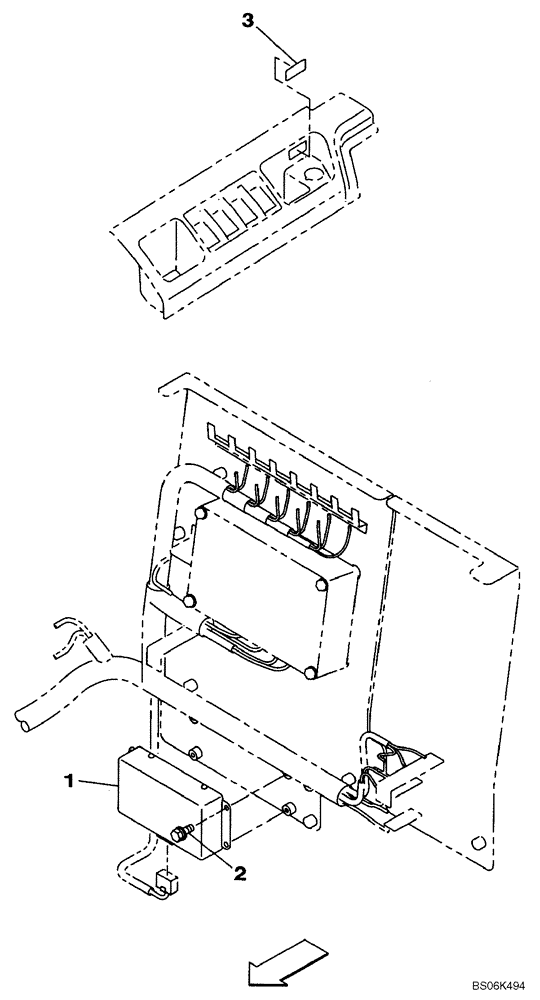
1

167181A1

TRANSFORMER

1шт.

2

159602A1

BOLT,Sems, Hex, M6 x 16mm

4шт.

3

KHP1803

WARNING DECAL

1шт.

Выбрано товаров: 3