Запчасти Case CX210BNLC (08-06) - HYDRAULICS - CONTROL VALVE SUPPLY (08) - HYDRAULICS

Схема запчастей Case CX210BNLC - (08-06) - HYDRAULICS - CONTROL VALVE SUPPLY (08) - HYDRAULICS
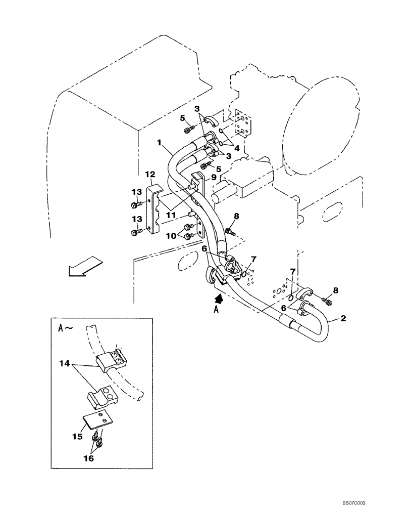
1
7
16
12
5
13
8
8
6
6
3
11
15
5
13
14
4
10
9
2
7
3
FIT
1:1
100%

Артикул

Название

Примечание

Количество

1

KRJ17630

HYDRAULIC HOSE,22.20 mm ID x 1020.00 mm

1шт.

2

KRJ10770

HYDRAULIC HOSE,22.20 mm ID x 1290.00 mm

1шт.

3

152598A1

HALF-COLLAR

Split

4шт.

4

155210A1

O-RING

2шт.

5

862-10030

HEX SOC SCREW,M10 x 30mm, Cl 12.9

8шт.

6

150561A1

FLANGE

Split

4шт.

7

155211A1

O-RING

2шт.

8

862-12040

HEX SOC SCREW,M12 x 40mm, Cl 12.9

Replaces 863-12045

8шт.

9

KRJ16270

SUPPORT

1шт.

10

152718A1

BOLT,Spcl, Hex Wshr, M12 x 25mm, Cl 10.9

2шт.

11

KRJ10790

HOSE CLIP

2шт.

12

KRJ10810

PLATE

1шт.

13

166347A1

BOLT,Sems, M10 x 30mm

2шт.

14

KRJ16260

HOSE CLIP

2шт.

15

KNJ11520

PLATE

1шт.

16

166347A1

BOLT,Sems, M10 x 30mm

2шт.

Выбрано товаров: 16