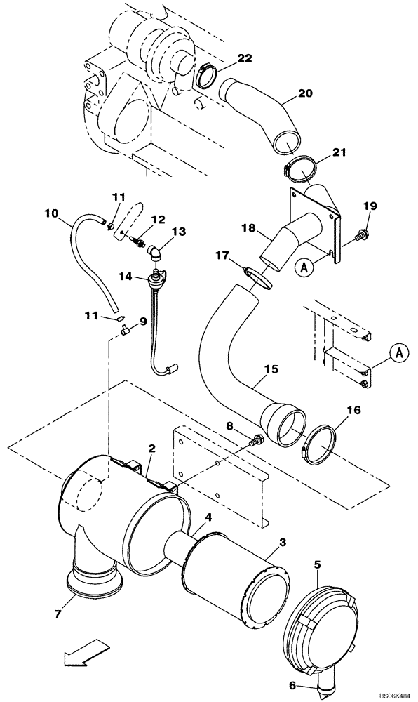
Запчасти Case CX240B (02-02) - AIR CLEANER - WITHOUT NOISE REDUCTION COVERS (02) - ENGINE

Схема запчастей Case CX240B - (02-02) - AIR CLEANER - WITHOUT NOISE REDUCTION COVERS (02) - ENGINE
11
8
16
20
2
17
9
19
15
22
11
7
18
14
6
4
13
3
21
5
12
10
FIT
1:1
100%

Артикул

Название

Примечание

Количество

KRH10050

FILTER ASSY

Incl. 2 - 7

1шт.

2

NSS

NOT SOLD SEPARAT

Body

1шт.

3

KBH0921

AIR FILTER

Outer

1шт.

4

KBH0922

AIR FILTER

Inner

1шт.

5

KBH0923

COVER ASSY

1шт.

6

KBH0924

VALVE

1шт.

7

165437A1

CAP

1шт.

8

166052A1

BOLT

4шт.

9

KRH1237

ELBOW

1шт.

10

157777A1

HOSE

400 mm (15-3/4 in)

1шт.

11

165951A1

CLAMP

2шт.

12

KRH1236

SEAL

1шт.

13

165818A1

ELBOW

1шт.

14

KHH10330

SENSOR

1шт.

15

KRH10500

AIR HOSE

1шт.

16

150545A1

COLLAR

1шт.

17

150902A1

COLLAR

1шт.

18

KRH10980

SUPPORT

1шт.

19

152718A1

BOLT,Spcl, Hex Wshr, M12 x 25mm, Cl 10.9

4шт.

20

KRH10491

AIR HOSE

1шт.

21

150902A1

COLLAR

1шт.

22

150736A1

COLLAR

1шт.

Выбрано товаров: 22