Запчасти Case CX240B (08-048) - PLUG (08) - HYDRAULICS

Схема запчастей Case CX240B - (08-048) - PLUG (08) - HYDRAULICS
10
9
9
14
12
19
11
17
15
18
3
22
11
20
21
8
6
16
16
1
8
7
5
14
13
4
12
10
2
15
FIT
1:1
100%

Артикул

Название

Примечание

Количество

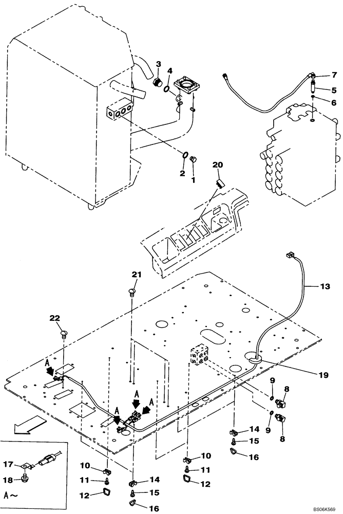
1

159085A1

PLUG

Incl. 2

1шт.

2

154487A1

O-RING

1шт.

3

162659A1

PLUG

Incl. 4

1шт.

4

154523A1

O-RING

1шт.

5

163104A1

ADAPTER

Incl. 6

1шт.

6

154467A1

O-RING,10.8mm ID x 2.4mm Width

1шт.

7

KHJ2249

HOSE

1шт.

8

150913A1

ELBOW,90 Degree, 1/4" O-Ring x 1/4"

Incl. 9

2шт.

9

154467A1

O-RING,10.8mm ID x 2.4mm Width

1шт.

10

150860A1

COLLAR

3шт.

11

145N006S008R

SCREW,Pan Hd, M6 x 8mm, Cl 10.9

3шт.

12

150496A1

MOUNTING CLIP

3шт.

13

KHR15960

WIRE HARNESS

1шт.

14

150860A1

COLLAR

4шт.

15

145N006S008R

SCREW,Pan Hd, M6 x 8mm, Cl 10.9

4шт.

16

150496A1

MOUNTING CLIP

4шт.

17

158962A1

CLIP

4шт.

18

166345A1

BOLT

4шт.

19

KHJ14640

SEAL

1шт.

20

KHR10390

CAP

1шт.

21

KHJ15060

CAP

4шт.

22

KHJ15080

CAP

1шт.

Выбрано товаров: 22