Запчасти Case CX240B (08-049) - PLUG (08) - HYDRAULICS

Схема запчастей Case CX240B - (08-049) - PLUG (08) - HYDRAULICS
11
3
14
13
10
6
8
5
6
4
11
12
5
7
16
2
13
9
11
12
1
7
17
8
9
13
18
15
12
FIT
1:1
100%

Артикул

Название

Примечание

Количество

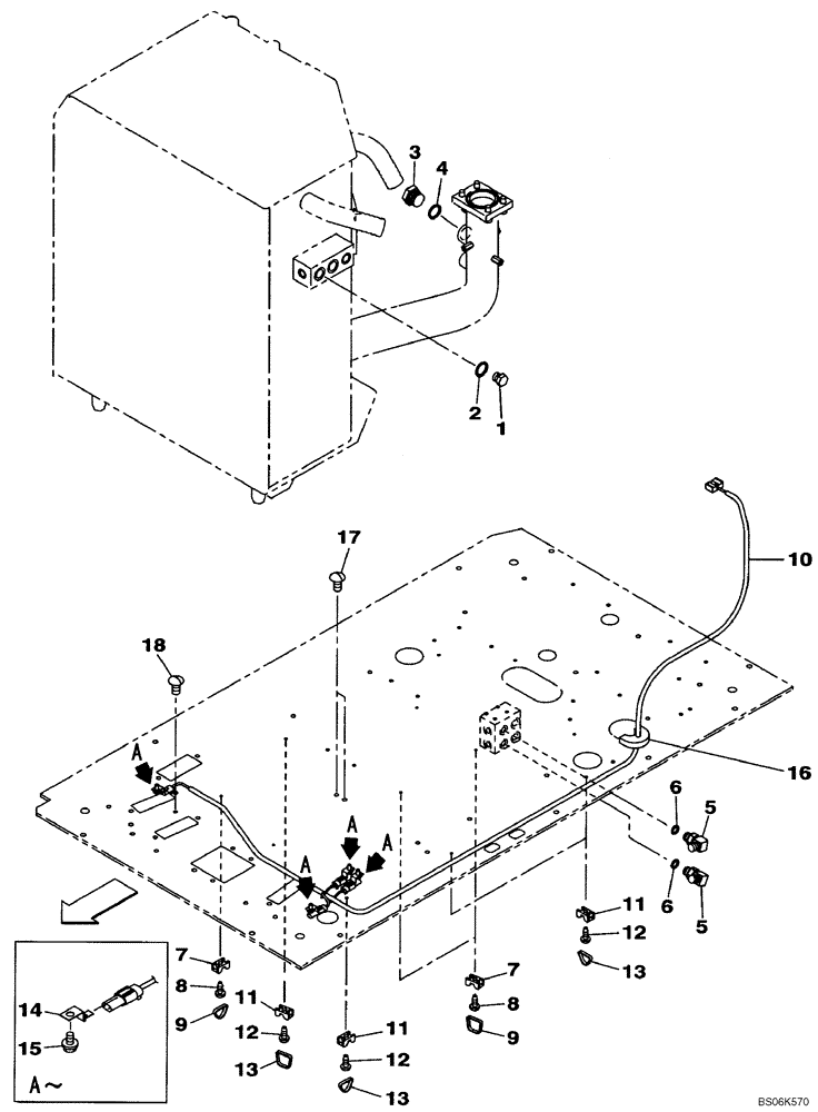
1

159085A1

PLUG

Incl. 2

1шт.

2

154487A1

O-RING

1шт.

3

162659A1

PLUG

Incl. 4

1шт.

4

154523A1

O-RING

1шт.

5

150913A1

ELBOW,90 Degree, 1/4" O-Ring x 1/4"

Incl. 6

2шт.

6

154467A1

O-RING,10.8mm ID x 2.4mm Width

1шт.

7

150860A1

COLLAR

3шт.

8

145N006S008R

SCREW,Pan Hd, M6 x 8mm, Cl 10.9

3шт.

9

150496A1

MOUNTING CLIP

3шт.

10

KHR15960

WIRE HARNESS

1шт.

11

150860A1

COLLAR

4шт.

12

145N006S008R

SCREW,Pan Hd, M6 x 8mm, Cl 10.9

4шт.

13

150496A1

MOUNTING CLIP

4шт.

14

158962A1

CLIP

4шт.

15

166345A1

BOLT

4шт.

16

KHJ14640

SEAL

1шт.

17

KHJ15060

CAP

2шт.

18

KHJ15080

CAP

1шт.

Выбрано товаров: 18