Запчасти Case CX240B (08-065) - KBJ10391 VALVE ASSY - CONTROL (08) - HYDRAULICS

Схема запчастей Case CX240B - (08-065) - KBJ10391 VALVE ASSY - CONTROL (08) - HYDRAULICS
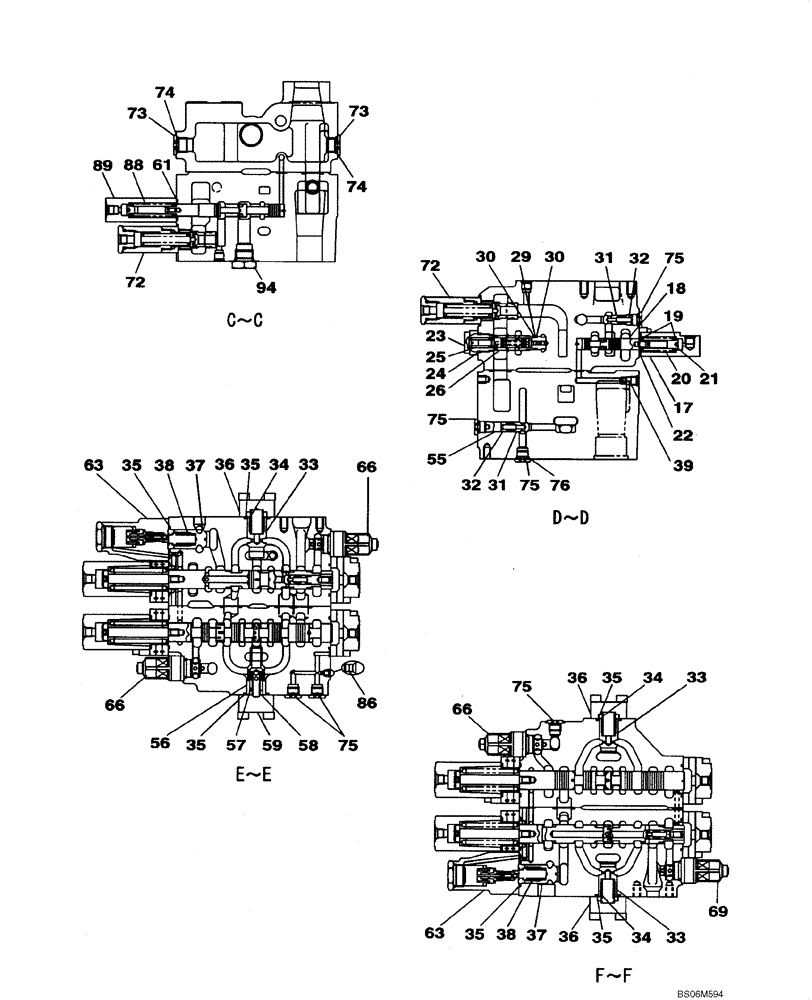
63
18
36
35
72
75
30
25
74
35
75
74
30
35
29
89
57
55
86
94
35
33
58
34
56
20
37
75
19
66
39
36
33
22
66
34
31
35
32
35
36
32
34
59
63
37
73
72
24
31
75
66
76
73
17
69
75
26
38
88
61
21
23
38
33
FIT
1:1
100%

Артикул

Название

Примечание

Количество

KBJ10391

CONTROL VALVE

Includes All Parts On Figures 08-062 - 08-067

1шт.

17

LR015250

CAP

1шт.

18

NSS

NOT SOLD SEPARAT

Spool, Valve

1шт.

19

163393A1

SPRING SEAT

2шт.

20

LG00338

SPRING

1шт.

21

LPC0222

END FITTING

1шт.

22

154514A1

O-RING

1шт.

23

LK005690

PLUG

1шт.

24

154503A1

O-RING

1шт.

25

LG00339

SPRING

1шт.

26

LJ014690

SPOOL,Regeneration

1шт.

29

154483A1

O-RING

1шт.

30

153967A1

BACK-UP RING

2шт.

31

LJ00726

VALVE POPPET

2шт.

32

LG00340

SPRING

2шт.

33

LJ00727

VALVE POPPET

3шт.

34

LG00341

SPRING

3шт.

35

154539A1

O-RING

6шт.

36

LH00248

CAP

3шт.

37

163390A1

VALVE POPPET

2шт.

38

163394A1

SPRING

2шт.

39

LJ00731

ORIFICE

1шт.

55

LH004970

SPACER

1шт.

56

LH004980

SLEEVE

1шт.

57

160187A1

VALVE POPPET

1шт.

58

160242A1

SPRING

1шт.

59

LH004990

FLANGE

1шт.

61

LE014890

O-RING,3.53mm Thk x 25.7mm ID, Cl 6

14шт.

63

LJ014710

VALVE SECTION

2шт.

66

LJ014730

VALVE PRESSURE RELIE

See Figure 08-067

3шт.

69

LJ015020

VALVE PRESSURE RELIE

See Figure 08-067

1шт.

72

LJ014700

VALVE PRESSURE RELIE

See Figure 08-067

2шт.

73

163370A1

PLUG

Incl. 74

2шт.

74

154487A1

O-RING

1шт.

75

163369A1

PLUG

Incl. 76

6шт.

76

154475A1

O-RING

1шт.

86

NSS

NOT SOLD SEPARAT

Plug, If Used

1шт.

88

NSS

NOT SOLD SEPARAT

Spool, If Used

1шт.

89

LR015290

CAP

1шт.

94

LK00302

PLUG

1шт.

Выбрано товаров: 40