Запчасти Case CX240B (08-085) - VALVE ASSY - FOOT CONTROL (08) - HYDRAULICS

Схема запчастей Case CX240B - (08-085) - VALVE ASSY - FOOT CONTROL (08) - HYDRAULICS
21
17
25
16
20
24
30
18
10
6
11
7
22
3
13
14
32
31
27
28
23
1
5
12
8
19
9
4
2
15
FIT
1:1
100%

Артикул

Название

Примечание

Количество

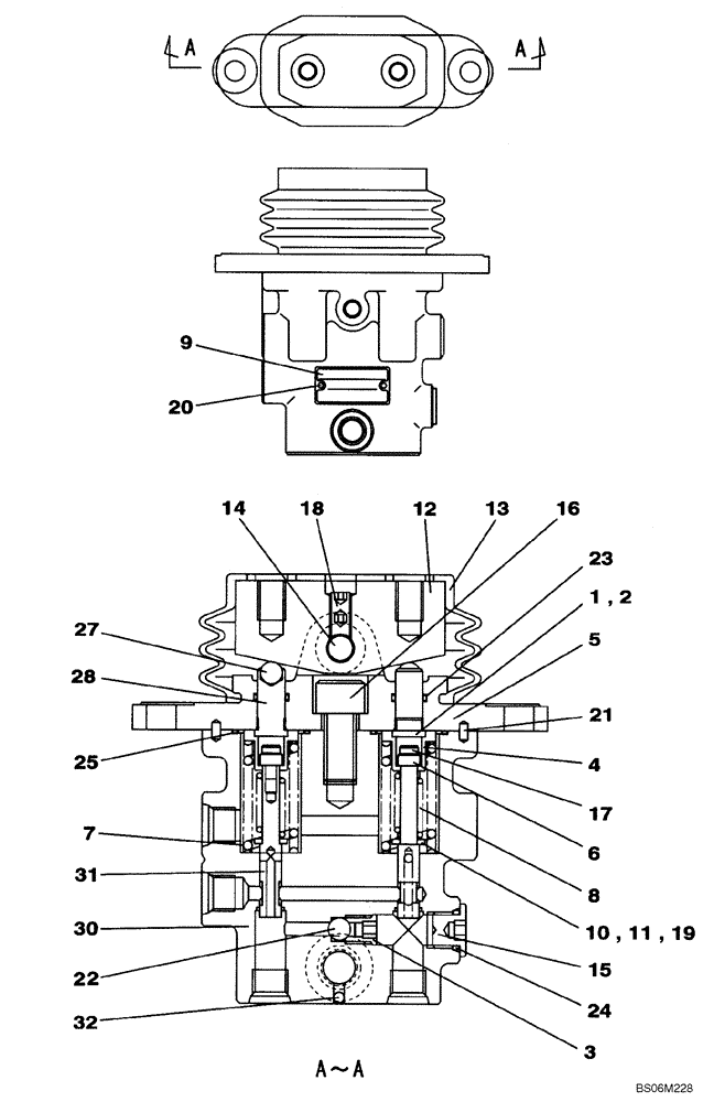
KHJ10450

VALVE

Incl. 1 - 32

1шт.

1

155570A1

SHIM

2шт.

2

155571A1

SHIM

2шт.

3

LSC0192

SPRING SEAT

1шт.

4

160848A1

SLEEVE

2шт.

5

156280A1

COVER

1шт.

6

160849A1

COLLAR

2шт.

7

160946A1

SPRING

2шт.

8

LG00345

COMPRESSION SPRING

2шт.

9

NSS

NOT SOLD SEPARAT

Name Plate

1шт.

10

LH00029

SHIM

2шт.

11

LH00255

SHIM

2шт.

12

TF00005

CAM

1шт.

13

LQ00025

BELLOWS

1шт.

14

LA00706

DOWEL

1шт.

15

160083A1

PLUG

1шт.

16

861-12025

HEX SOC SCREW,M12 x 25mm, Cl 12.9

1шт.

17

156179A1

FLANGE BOLT

2шт.

18

878-1088

SET SCREW,Hex Skt, M8 x 8mm, Cup Pt

2шт.

19

156178A1

WASHER

2шт.

20

LA00769

RIVET

2шт.

21

LA010650

DOWEL

2шт.

22

167013A1

BALL

1шт.

23

154462A1

O-RING

2шт.

24

154467A1

O-RING,10.8mm ID x 2.4mm Width

1шт.

25

156903A1

O-RING

2шт.

155754A1

VALVE

Incl. 27, 28

2шт.

27

NSS

NOT SOLD SEPARAT

Ball, Steel

2шт.

28

NSS

NOT SOLD SEPARAT

Pusher

2шт.

LR014520

HOUSING

Incl. 30 - 32

1шт.

30

NSS

NOT SOLD SEPARAT

Body

1шт.

31

NSS

NOT SOLD SEPARAT

Spool

2шт.

32

NSS

NOT SOLD SEPARAT

Ball

1шт.

Выбрано товаров: 33