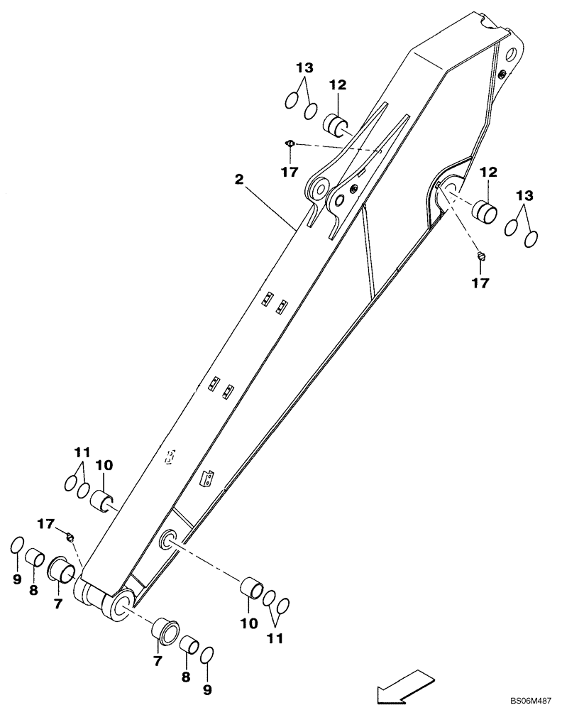
Запчасти Case CX240B (09-38) - ARM, EXCAVATOR, 3,0 METER (9 FT 10 IN) (09) - CHASSIS/ATTACHMENTS

Схема запчастей Case CX240B - (09-38) - ARM, EXCAVATOR, 3,0 METER (9 FT 10 IN) (09) - CHASSIS/ATTACHMENTS
9
11
7
10
13
10
17
12
12
2
8
17
7
17
11
13
9
8
FIT
1:1
100%

Артикул

Название

Примечание

Количество

KBV17450

DIPPER

Incl. 2 - 13, Replaces KBV15380

1шт.

2

NSS

NOT SOLD SEPARAT

Arm

1шт.

7

KBV17370

BUSHING

Replaces KBV1335

2шт.

8

KBV14210

BUSHING

Replaces KBV11360

2шт.

9

159648A1

SEAL,90mm ID x 105mm OD x 5mm Thk

2шт.

10

KBV1359

SELF LUB RING

2шт.

11

159647A1

SEAL,80mm ID x 95mm OD x 5mm Thk

4шт.

12

KBV1360

SELF LUB RING

2шт.

13

159649A1

SEAL,100mm ID x 115mm OD x 5mm Thk

4шт.

17

153630A1

LUBE NIPPLE

3шт.

Выбрано товаров: 10