Запчасти Case CX240B (05-06) - TRACK CHAINS, 800 MM (31-1/2 IN) (11) - TRACKS/STEERING

Схема запчастей Case CX240B - (05-06) - TRACK CHAINS, 800 MM (31-1/2 IN) (11) - TRACKS/STEERING
18
5
10
13
12
7
15
9
14
16
8
11
13
4
3
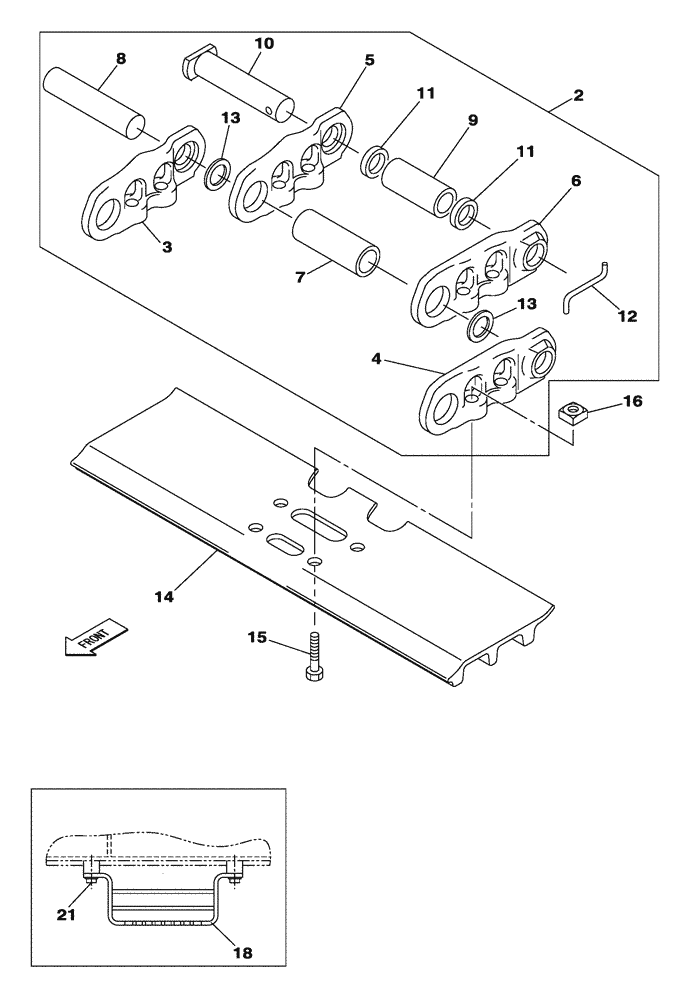
2
21
11
6
FIT
1:1
100%

Артикул

Название

Примечание

Количество

2

KBA11280

CHAIN (CE)

1шт.

Include(s) 3 - 13

1шт.

3

KRA1807

LINK

RH

50шт.

4

KRA1808

LINK

LH

50шт.

5

KRA1809

LINK

RH

1шт.

6

KRA1810

LINK CHAIN

LH

1шт.

7

KRA1811

BUSHING

50шт.

8

KRA11110

PIN

50шт.

9

KRA1569

BUSHING

1шт.

10

159676A1

HEADED PIN,36.3mm OD x 208mm L

1шт.

11

159673A1

SPACER, RING

2шт.

12

159677A1

COTTER PIN,8mm OD

1шт.

13

KRA1814

DUST CAP

100шт.

14

159397A1

TRACK SHOE

800 mm

51шт.

15

159668A1

BOLT,Hex, M20 x 1.5 x 53mm

204шт.

16

159669A1

NUT

204шт.

18

KHA10280

STEP

4шт.

21

105R020Y050R

BOLT

8шт.

Выбрано товаров: 18