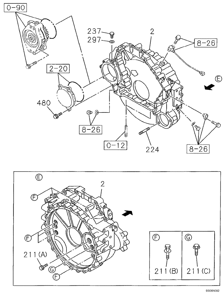
Запчасти Case CX240B (02-18) - ENGINE FLYWHEEL HOUSING (02) - ENGINE

Схема запчастей Case CX240B - (02-18) - ENGINE FLYWHEEL HOUSING (02) - ENGINE
224
2-20
211c
480
8-26
211b
297
2
0-12
211a
0-90
237
2
8-26
8-26
FIT
1:1
100%

Артикул

Название

Примечание

Количество

0-12

REF

INSTRUCTION

See Figure 02-11

1шт.

2-20

REF

INSTRUCTION

See Figure 02-33

1шт.

8-26

REF

INSTRUCTION

See Figure 02-34

1шт.

2

87596003

HOUSING

1шт.

211a

87596013

BOLT

1шт.

211b

87596027

BOLT

11шт.

211c

87596028

BOLT

1шт.

224

87596029

STUD

2шт.

237

355640A1

BOLT

1шт.

297

71455364

GASKET

1шт.

480

437844A1

FLANGE BOLT

3шт.

621

87596004

BOLT

1шт.

Выбрано товаров: 12