Запчасти Case CX240B (04-13) - CONTROLLER (04) - ELECTRICAL SYSTEMS

Схема запчастей Case CX240B - (04-13) - CONTROLLER (04) - ELECTRICAL SYSTEMS
FIT
1:1
100%

Артикул

Название

Примечание

Количество

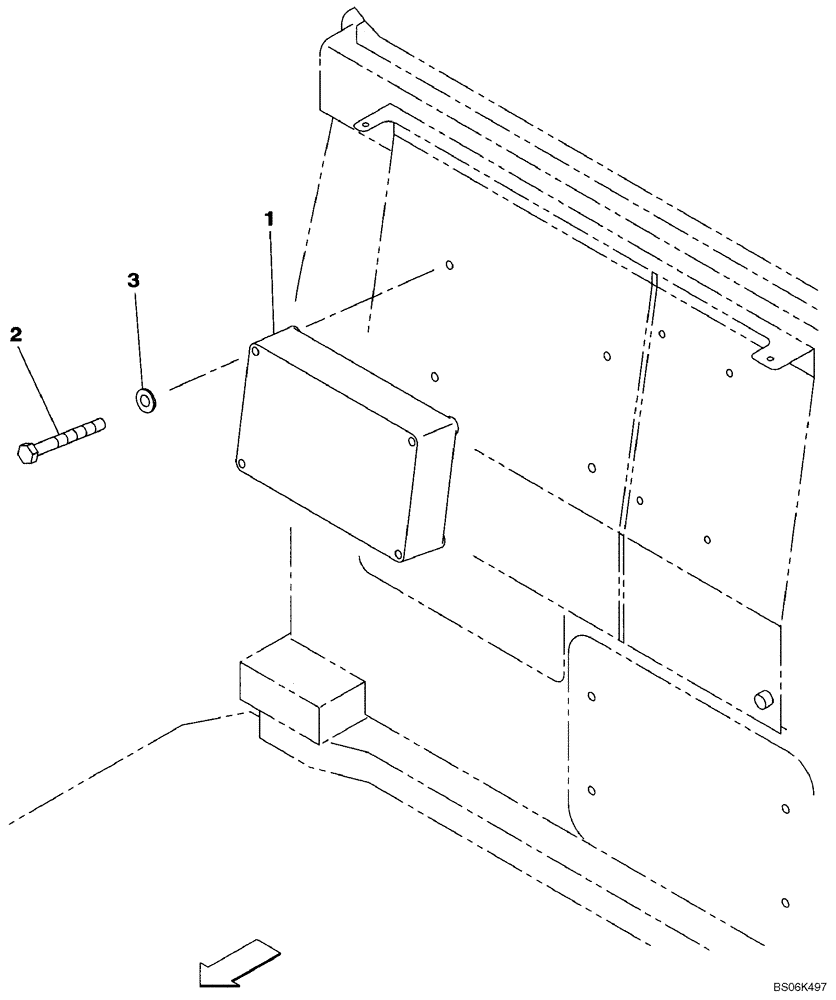
1

KHR10033

CONTROLLER

Replaces KHR10020, KHR10021, KHR10024

1шт.

1

KHR10036R

REMAN ELECT CONTROL

CX240B CRAWLER EXCAVATOR TIER 3 (NA) (1/07-), Reman for New PN KHR10033

1шт.

1

KHR10036C

CORE-ELECTRONIC CONT

Return Number

1шт.

2

827-8070

BOLT,Hex, M8 x 1.25 x 70mm, Cl 10.9

4шт.

3

895-11008

WASHER,9mm ID x 16mm OD x 1.6mm Thk

4шт.

Выбрано товаров: 5