Качественные детали и логистика
Оригинальные и аналоговые запчасти с доставкой по России, Казахстану и Беларуси
©2022 PartSell ООО "Система" ИНН 2463123282 ОГРН 1212400004838
Центральный офис: г. Красноярск, Академика Киренского, д.87, пом.4
Телефон: 8 (800) 777-65-74 Email: zakaz@partsell.ru
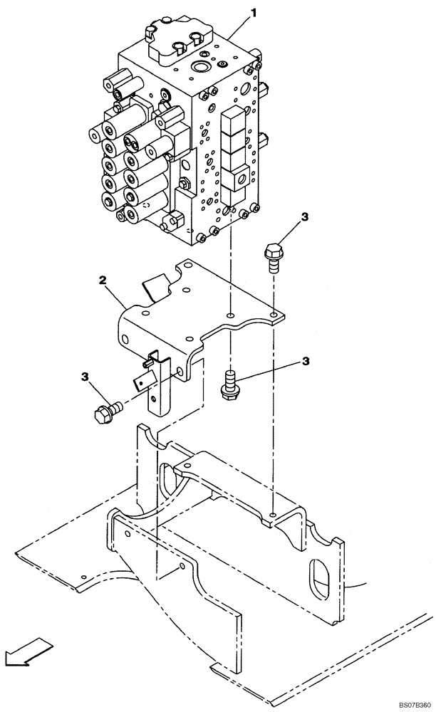
(08-060) - KBJ12711 CONTROL VALVE - SUPPORT
№
Артикул
Название
Примечание
Количество
1
KBJ12711
CONTROL VALVE
See Figures 08-061 - 08-070, Replaces KBJ12710
1шт.
2
KRJ16040
SUPPORT
3
166373A1
BOLT,Sems, M16 x 40mm
8шт.
Выбрано товаров: 0