Запчасти Case CX240BLR (08-064) - KBJ12711 VALVE ASSY - CONTROL (08) - HYDRAULICS

Схема запчастей Case CX240BLR - (08-064) - KBJ12711 VALVE ASSY - CONTROL (08) - HYDRAULICS
103
111
109
66
39
35
73
108
132
42
112
67
110
63
111
70
125
40
44
68
110
131
67
95
69
97
72
37
69
70
43
71
89
69
71
92
124
69
38
90
111
108
65
66
111
69
64
111
97
64
91
65
68
69
68
122
72
106
41
36
100
109
100
93
70
67
FIT
1:1
100%

Артикул

Название

Примечание

Количество

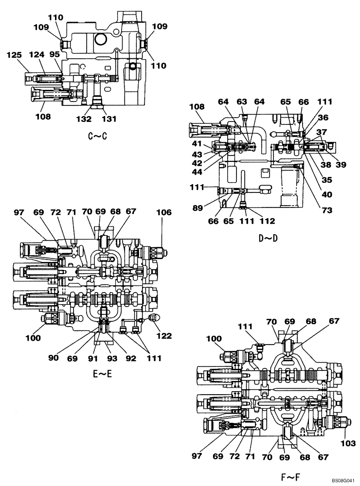
KBJ12711

CONTROL VALVE

Includes All Parts On Figures 08-061 - 08-070, Replaces KBJ12710

1шт.

35

LR015250

CAP

1шт.

36

NSS

NOT SOLD SEPARAT

Spool, Valve

1шт.

37

163393A1

SPRING SEAT

2шт.

38

LG00338

SPRING

1шт.

39

LPC0222

END FITTING

1шт.

40

154514A1

O-RING

1шт.

41

LK005690

PLUG

1шт.

42

154503A1

O-RING

1шт.

43

LG00339

SPRING

1шт.

44

LJ014690

SPOOL,Regeneration

1шт.

63

154483A1

O-RING

1шт.

64

153967A1

BACK-UP RING

2шт.

65

LJ00726

VALVE POPPET

2шт.

66

LG00340

SPRING

2шт.

67

LJ00727

VALVE POPPET

7шт.

68

LG00341

SPRING

8шт.

69

154539A1

O-RING

10шт.

70

LH00248

CAP

6шт.

71

163390A1

VALVE POPPET

2шт.

72

163394A1

SPRING

2шт.

73

LJ00731

ORIFICE

1шт.

89

LH004970

SPACER

1шт.

90

LH004980

SLEEVE

1шт.

91

160187A1

VALVE POPPET

1шт.

92

160242A1

SPRING

1шт.

93

LH004990

FLANGE

1шт.

95

LE014890

O-RING,3.53mm Thk x 25.7mm ID, Cl 6

1шт.

97

LJ014710

VALVE SECTION

2шт.

100

LJ014730

VALVE PRESSURE RELIE

See Figure 08-066

2шт.

103

LJ015020

VALVE PRESSURE RELIE

See Figure 08-066

1шт.

106

LJ01193

VALVE, PRESSURE RELI

EF Incl. 107

1шт.

107

155223A1

O-RING

Not Shown

1шт.

108

LJ014700

VALVE PRESSURE RELIE

2шт.

109

163370A1

PLUG

Incl. 77

2шт.

110

154487A1

O-RING

1шт.

111

163369A1

PLUG

Incl. 112

6шт.

112

154475A1

O-RING

Not Shown

1шт.

122

NSS

NOT SOLD SEPARAT

Plug

5шт.

124

NSS

NOT SOLD SEPARAT

Spool

1шт.

125

LR015290

CAP

1шт.

130

LK00302

PLUG

Incl. 131, 132, Not Shown

1шт.

131

165836A1

PLUG

1шт.

132

154503A1

O-RING

1шт.

Выбрано товаров: 44