Запчасти Case CX240BLR (08-065) - KBJ12711 VALVE ASSY - CONTROL (08) - HYDRAULICS

Схема запчастей Case CX240BLR - (08-065) - KBJ12711 VALVE ASSY - CONTROL (08) - HYDRAULICS
68
128
67
114
67
67
69
142
103
122
82
69
68
87
83
12
68
69
68
67
85
99
77
133
122
122
68
70
85
98
86
70
76
111
80
115
69
81
86
115
133
129
114
70
129
103
79
78
87
130
FIT
1:1
100%

Артикул

Название

Примечание

Количество

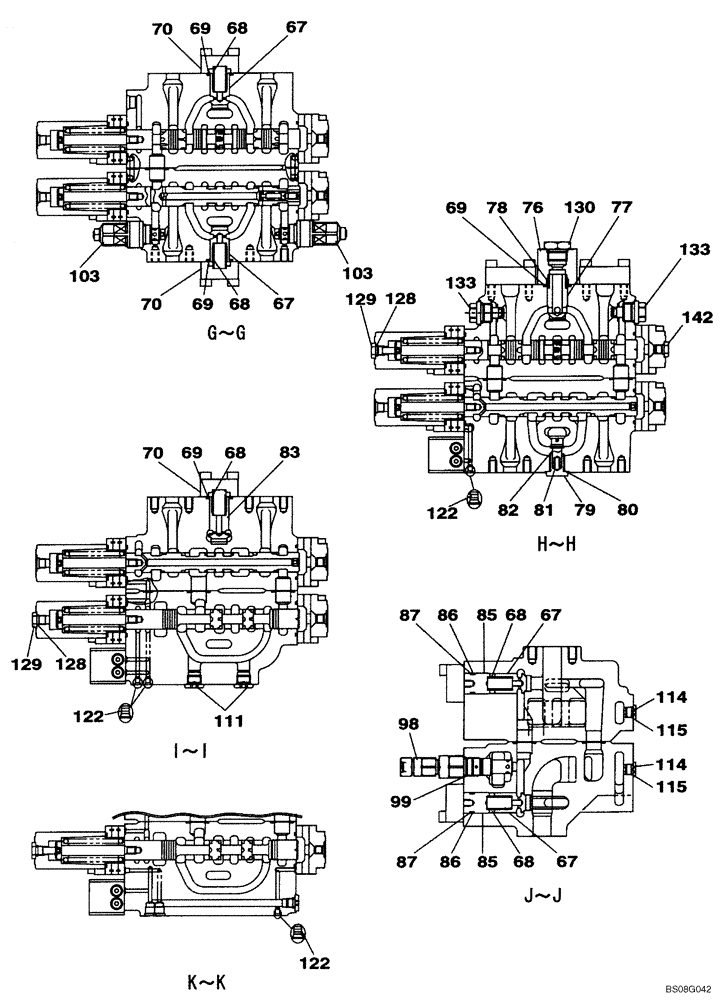
KBJ12711

CONTROL VALVE

Includes All Parts On Figures 08-061 - 08-070, Replaces KBJ12710

1шт.

67

LJ00727

VALVE POPPET

7шт.

68

LG00341

SPRING

8шт.

69

154539A1

O-RING

10шт.

70

LH00248

CAP

6шт.

76

LH005410

FLANGE

1шт.

77

LJ016050

VALVE POPPET

1шт.

78

LG006510

SPRING

1шт.

79

155464A1

PLUG

1шт.

80

155222A1

O-RING

1шт.

81

156026A1

SPRING

1шт.

82

LJ014680

VALVE POPPET

1шт.

83

LJ00730

VALVE POPPET

1шт.

85

LH004960

SPACER

2шт.

86

154507A1

O-RING

2шт.

87

153987A1

BACK-UP RING

2шт.

98

LJ015010

VALVE PRESSURE RELIE

Incl. 99

1шт.

99

155223A1

O-RING

1шт.

103

LJ015020

VALVE PRESSURE RELIE

See Figure 08-066

2шт.

111

163369A1

PLUG

Incl. 112

2шт.

112

154475A1

O-RING

Not Shown

1шт.

113

163972A1

PLUG

Incl. 114, 115, Not Shown

2шт.

114

LK00328

PLUG

1шт.

115

154467A1

O-RING,10.8mm ID x 2.4mm Width

2шт.

122

NSS

NOT SOLD SEPARAT

Plug

3шт.

128

154467A1

O-RING,10.8mm ID x 2.4mm Width

2шт.

129

LK00301

PLUG

2шт.

130

LK00302

PLUG

1шт.

133

165839A1

PLUG

2шт.

142

155447A1

PLUG

1шт.

Выбрано товаров: 30