Запчасти Case CX240BLR (02-05) - RADIATOR ASSY (02) - ENGINE

Схема запчастей Case CX240BLR - (02-05) - RADIATOR ASSY (02) - ENGINE
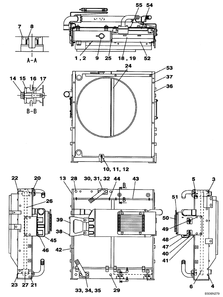
28
14
25
10
45
35
20
4
18
31
40
7
39
2
3
26
27
38
19
50
41
12
46
21
53
1
42
16
29
24
6
51
9
17
47
8
52
22
32
34
49
55
15
5
54
11
48
13
44
33
43
37
30
36
23
FIT
1:1
100%

Артикул

Название

Примечание

Количество

KBH10800

RADIATOR

Incl. 1 - 55

1шт.

1

LN001870

RADIATOR

Incl. 2 - 6

1шт.

2

NSS

NOT SOLD SEPARAT

Radiator

1шт.

3

LE014620

SEAL PROTECTION

2шт.

4

LE014610

SEAL PROTECTION

1шт.

5

LE014600

SEAL PROTECTION

2шт.

6

LE014590

SEAL PROTECTION

1шт.

7

LG005900

SILENTBLOC

2шт.

8

LG005620

SILENTBLOC

2шт.

9

TR00521

RADIATOR CAP

1шт.

10

156602A1

COCK

1шт.

11

LK005540

PLUG

1шт.

12

LA00804

CLIP

1шт.

13

LT001620

FRAME

1шт.

14

LA010480

BOLT

4шт.

15

LA010490

WASHER

4шт.

16

LG005910

SEAL PROTECTION

4шт.

17

LH004680

COLLAR

4шт.

18

LN001850

OIL COOLER

Incl. 19 - 27

1шт.

19

NSS

NOT SOLD SEPARAT

Cooler

1шт.

20

LE014580

SEAL PROTECTION

1шт.

21

LE014570

SEAL PROTECTION

1шт.

22

LE014560

SEAL PROTECTION

1шт.

23

LE014550

SEAL PROTECTION

1шт.

24

LE014540

SEAL PROTECTION

1шт.

25

LE014530

SEAL PROTECTION

2шт.

26

LE014520

SEAL PROTECTION

1шт.

27

LE014510

SEAL PROTECTION

2шт.

28

LA00792

BOLT

2шт.

29

LA00792

BOLT

2шт.

30

LR015010

RIGID TUBE

1шт.

31

LE013660

O-RING

1шт.

32

LA010890

BOLT

2шт.

33

LR014850

PIPE

1шт.

34

LE013660

O-RING

1шт.

35

LA010890

BOLT

2шт.

36

LW005030

SHROUD

1шт.

37

LA00677

BOLT,Spcl

8шт.

38

LS003320

BRACKET

1шт.

39

LA00781

BOLT

4шт.

40

LS003220

BRACKET

1шт.

41

LA00781

BOLT

2шт.

42

LG006000

PROTECTOR

1шт.

43

LG005990

PROTECTOR

1шт.

44

156606A1

BOLT,Wing, M6

4шт.

45

LN001830

INTERCOOLER

1шт.

46

LA00781

BOLT

2шт.

47

LA010500

BOLT

2шт.

48

LS003230

BRACKET

1шт.

49

LA00781

BOLT

4шт.

50

LN001760

FUEL COOLER

1шт.

51

LUG0003

BOLT

4шт.

52

LS003310

BRACKET

1шт.

53

LA00677

BOLT,Spcl

2шт.

54

LS003300

BRACKET

1шт.

55

LA00677

BOLT,Spcl

2шт.

Выбрано товаров: 0