Качественные детали и логистика
Оригинальные и аналоговые запчасти с доставкой по России, Казахстану и Беларуси
©2022 PartSell ООО "Система" ИНН 2463123282 ОГРН 1212400004838
Центральный офис: г. Красноярск, Академика Киренского, д.87, пом.4
Телефон: 8 (800) 777-65-74 Email: zakaz@partsell.ru
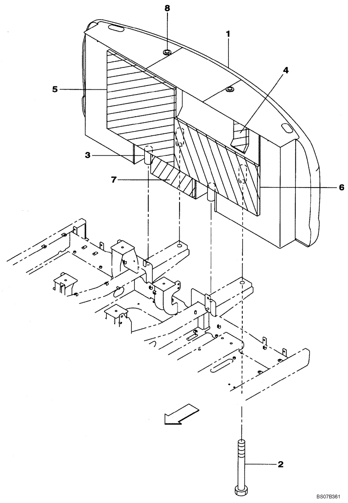
(09-04) - COUNTERWEIGHT - SOUNDPROOFING
№
Артикул
Название
Примечание
Количество
1
KBB13350Y2
WEIGHT PACKAGE
WEIGHT PACKAGE, Rplaces KBB11770Y2
1шт.
2
KHB10390
BOLT
4шт.
3
KRB10590
SPACER
4
KAB0804
FOAM INSULATION
5
KBB11670
NOISE PROTECTION
6
KBB11680
7
KBB11690
8
150129A1
PLUG
Rubber
2шт.
Выбрано товаров: 0