Запчасти Case CX240BLR (02-08) - COVER - CYLINDER HEAD (02) - ENGINE

Схема запчастей Case CX240BLR - (02-08) - COVER - CYLINDER HEAD (02) - ENGINE
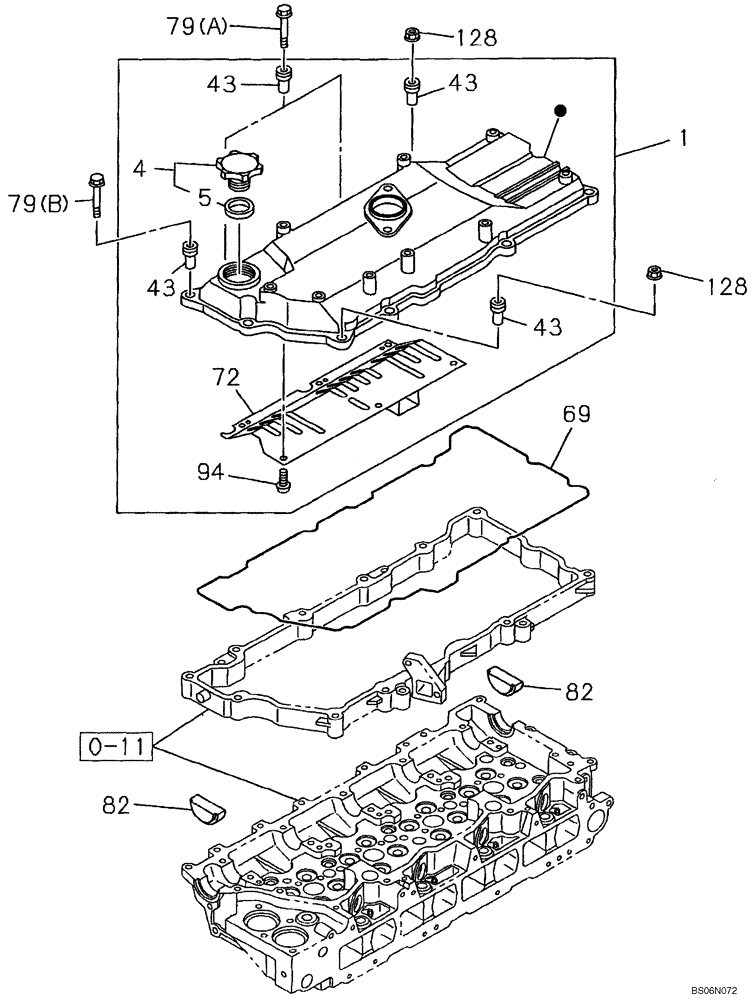
1
0-11
43
72
69
5
128
79b
43
128
79a
4
43
82
94
82
43
FIT
1:1
100%

Артикул

Название

Примечание

Количество

0-11

REF

INSTRUCTION

See Figure 02-09

1шт.

1

87595244

VALVE COVER

Incl. 4, 43, 72, 94

1шт.

4

288798A1

FILLER CAP

Incl. 5

1шт.

5

72109500

OIL SEAL

1шт.

43

87384321

RUBBER SEAL

11шт.

69

87595255

GASKET

1шт.

72

438070A1

PLATE

1шт.

79a

87595258

BOLT

2шт.

79b

87595261

BOLT

7шт.

82

72109530

PLUG

2шт.

94

87595263

SCREW

6шт.

128

87595271

NUT

2шт.

Выбрано товаров: 12