Запчасти Case CX240BLR (09-38) - LUBRICATION CIRCUIT - BOOM (09) - CHASSIS/ATTACHMENTS

Схема запчастей Case CX240BLR - (09-38) - LUBRICATION CIRCUIT - BOOM (09) - CHASSIS/ATTACHMENTS
1
18
14
20
11
8
18
20
7
18
19
19
19
15
10
20
18
20
19
18
19
20
17
20
12
5
2
6
18
13
16
19
14
19
12
17
20
3
19
9
12
4
20
FIT
1:1
100%

Артикул

Название

Примечание

Количество

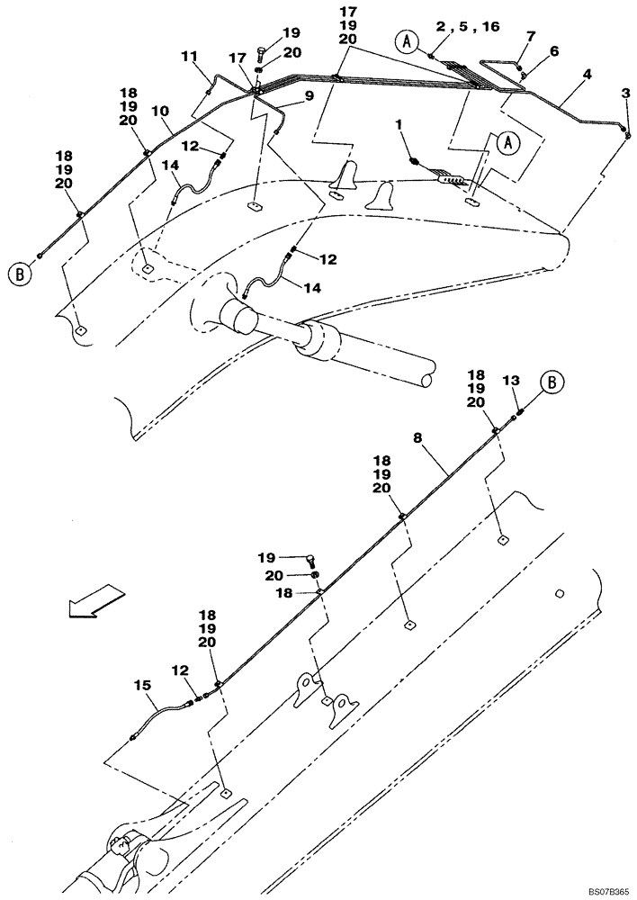
1

153630A1

LUBE NIPPLE

5шт.

2

152599A1

MULTIPOLE CONNECTOR

1шт.

3

152627A1

ELBOW

1шт.

4

KBV17090

HYD TUBE

1шт.

5

152599A1

MULTIPOLE CONNECTOR

1шт.

6

152627A1

ELBOW

1шт.

7

KBV17100

HYD TUBE

1шт.

8

162783A1

TUBE ASSY.

1шт.

9

KBV17110

HYD TUBE

1шт.

10

KBV17120

HYD TUBE

2400 mm (94-1/2 in)

1шт.

11

KBV17130

HYD TUBE

2500 mm (98-7/16 in)

1шт.

12

152032A1

UNION

2950 mm (116-1/8 in)

3шт.

13

153694A1

UNION

1шт.

14

KNJ0827

HOSE

560 mm (22 in); Replaces 152776A1

2шт.

15

150983A1

HOSE ASSY.

450 mm (17-3/4 in)

1шт.

16

152599A1

MULTIPOLE CONNECTOR

3шт.

17

KHV0340

CLAMP

3шт.

18

168377A1

CLAMP

6шт.

19

627-8030

BOLT,Hex, M8 x 1.25 x 30mm, Cl 10.9, Full Thd

12шт.

20

153081A1

WASHER

12шт.

Выбрано товаров: 20