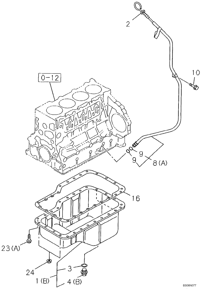
Запчасти Case CX240BLR (02-13) - OIL PAN (02) - ENGINE

Схема запчастей Case CX240BLR - (02-13) - OIL PAN (02) - ENGINE
10
9
24
16
0-12
4b
9
1b
8a
3
23a
2
FIT
1:1
100%

Артикул

Название

Примечание

Количество

0-12

REF

INSTRUCTION

See Figure 02-11

1шт.

1b

87595857

ENGINE OIL PAN

Incl. 3, 4B

1шт.

2

87595864

LEVEL GAUGE

1шт.

3

87393862

OIL PAN GASKET SET

1шт.

4b

87393863

PLUG

1шт.

8a

87595865

TUBE

Incl. 2, 9

1шт.

9

289418A1

GASKET

2шт.

10

87595866

BOLT

2шт.

16

87595867

GASKET

1шт.

23a

87595868

BOLT

22шт.

24

87595869

NUT

4шт.

Выбрано товаров: 11