Запчасти Case CX240BLR (03-01) - FUEL TANK (03) - FUEL SYSTEM

Схема запчастей Case CX240BLR - (03-01) - FUEL TANK (03) - FUEL SYSTEM
8
11
18
20
13
17
9
4
7
10
16
5
3
2
15
19
14
6
12
FIT
1:1
100%

Артикул

Название

Примечание

Количество

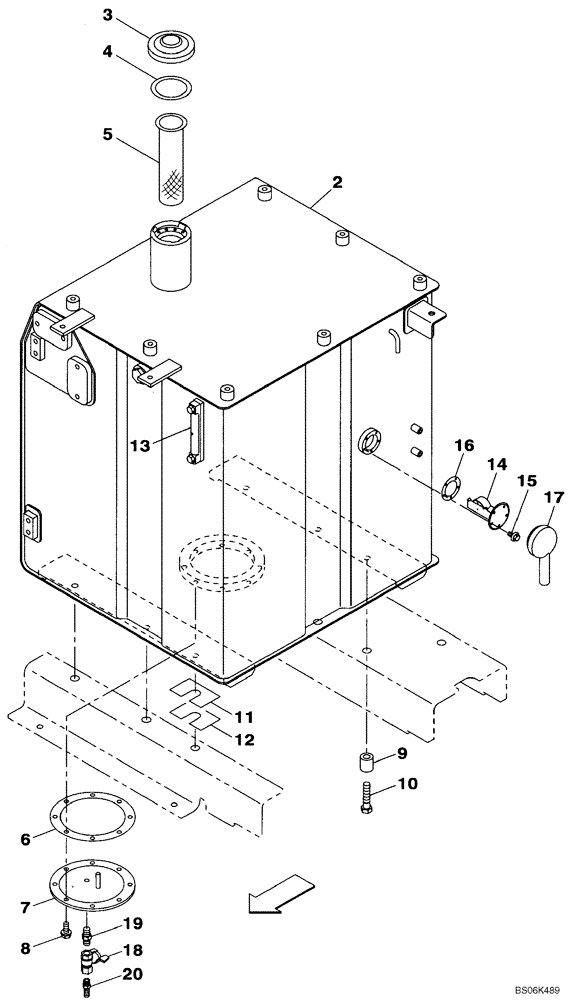
KRH10800

FUEL TANK

Incl. 2 - 8

1шт.

2

NSS

NOT SOLD SEPARAT

Tank

1шт.

3

150492A1

LOCKABLE FUEL CAP

Incl. 4

1шт.

4

163804A1

GASKET

1шт.

5

KHH10060

FILTER

Fuel

1шт.

6

151322A1

GASKET,3mm Thk

1шт.

7

KRH11460

COVER

1шт.

8

166052A1

BOLT

8шт.

9

153357A1

SPACER

6шт.

10

827-16070

BOLT,Hex, M16 x 2 x 70mm, Cl 10.9

6шт.

11

150166A1

SHIM

0,80 mm (0,032 in)

1шт.

12

150479A1

SHIM

2,00 mm (0,079 in)

1шт.

13

KHH12090

DIPSTICK

Replaces 159478A1

1шт.

14

KHR10670

SENSOR

1шт.

15

151688A1

SCREW,Phil Pan Hd, M5 x 12mm, W/ Wshr

5шт.

16

152591A1

GASKET,2mm Thk

1шт.

17

159698A1

COVER

1шт.

18

158923A1

DRAIN VALVE

1шт.

19

150847A1

HYD CONNECTOR

1шт.

20

157929A1

FITTING

1шт.

Выбрано товаров: 20