Качественные детали и логистика
Оригинальные и аналоговые запчасти с доставкой по России, Казахстану и Беларуси
©2022 PartSell ООО "Система" ИНН 2463123282 ОГРН 1212400004838
Центральный офис: г. Красноярск, Академика Киренского, д.87, пом.4
Телефон: 8 (800) 777-65-74 Email: zakaz@partsell.ru
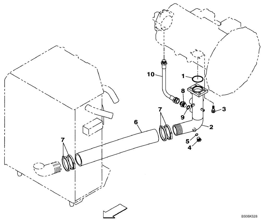
(08-005) - HYDRAULICS - PUMP SUCTION LINE
№
Артикул
Название
Примечание
Количество
1
154681A1
O-RING
1шт.
2
KRJ10580
HYD TUBE,67.9 mm ID x 76.3 mm OD
3
862-12030
HEX SOC SCREW,M12 x 30mm, Cl 12.9
4шт.
4
159002A1
PLUG
Incl. 5
5
154467A1
O-RING,10.8mm ID x 2.4mm Width
6
KHJ11120
HYDRAULIC HOSE,76.30 mm ID x 620.00 mm
7
150905A1
CLAMP
8
151654A1
HYD CONNECTOR,3/4" NPT O-Ring x 3/4" NPT
Incl. 9
9
154503A1
10
KBJ2809
HYDRAULIC HOSE,19.00 mm ID x 450.00 mm
Выбрано товаров: 0